授权公布号:CN217969718U
一种隐藏式的滑板车脚撑
有效
申请
2022-08-26
申请公布
1970-01-01
授权
2022-12-06
预估到期
2032-08-26
| 申请号 | CN202222262251.X |
| 申请日 | 2022-08-26 |
| 授权公布号 | CN217969718U |
| 授权公告日 | 2022-12-06 |
| 分类号 | B62H1/02 |
| 分类 | 无轨陆用车辆; |
| 申请人名称 | 浙江乐尚休闲用品有限公司 |
| 申请人地址 | 浙江省金华市武义县白洋街道百花山工业区开发大道32号(浙江远大科技开发有限公司内) |
专利法律状态
2022-12-06
授权
状态信息
授权
摘要
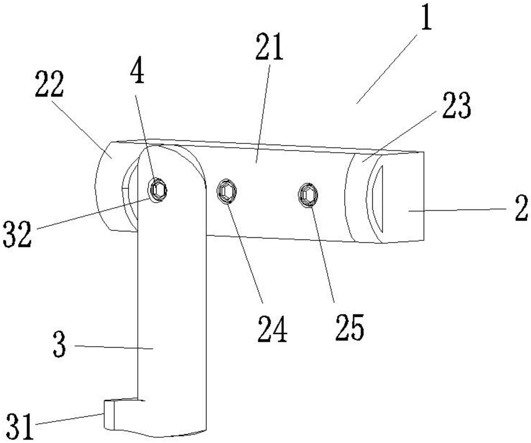
本实用新型公开了一种隐藏式的滑板车脚撑,脚撑本体由第一基体和第二基体通过螺栓连接构成;所述第一基体中部设置有凹陷区,两端设有第一连接部和第二连接部,第二基体一端设有第三连接孔,另一端一侧设有第一延伸部,所述第二基体通过第三连接孔使用螺栓、弹簧垫片、螺母连接于第一基体的通孔中;本实用新型第二基体与第一基体的宽度相同,第二基体旋转放下作为脚撑,收拢后与第一基体无缝贴合,第一基体与滑板车板面的侧面无缝衔接,闭合的脚撑可以隐藏在滑板车板面的侧边上,起到隐藏和美观的作用,收起后不易触碰,不会对使用人的脚步进行意外伤害。


