授权公布号:CN209449293U
一种轻巧自调伸缩式高枝油锯
有效
申请
2018-10-19
申请公布
1970-01-01
授权
2019-10-01
预估到期
2028-10-19
| 申请号 | CN201821701949.4 |
| 申请日 | 2018-10-19 |
| 授权公布号 | CN209449293U |
| 授权公告日 | 2019-10-01 |
| 分类号 | A01G3/08 |
| 分类 | 农业;林业;畜牧业;狩猎;诱捕;捕鱼; |
| 申请人名称 | 广州锐尔机电科技有限公司 |
| 申请人地址 | 广东省广州市白云区人和镇岗尾村太岗路1号C栋1层 |
专利法律状态
2019-10-01
授权
状态信息
授权
摘要
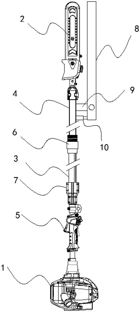
本实用新型涉及一种轻巧自调伸缩式高枝油锯,包括汽油机、锯链组件、主杆和主杆伸缩杆,所述主杆的后端通过固定套连接有手柄,所述手柄的后端设有汽油机,所述主杆的前端通过旋紧装置连接有主杆伸缩杆,所述主杆伸缩杆的前端连接有锯链组件,本实用新型提出的一种轻巧自调伸缩式高枝油锯,通过设置主杆和主杆伸缩杆,并且主杆和主杆伸缩杆通过旋紧装置进行连接,所述旋紧装置通过转动旋紧套即可实现主杆伸缩杆的固定和伸缩,从而实现调试更加便利,方便操作人员使用,通过设置副杆,并且该副杆的尾部通过液压升降杆与主杆伸缩杆连接,该种设计,在使用时,副杆通过液压升降杆的作用,提供一定的压力,从而降低操作人员劳动强度。


