授权公布号:CN211233178U
一种便于清理的空气净化器
有效
申请
2019-12-26
申请公布
1970-01-01
授权
2020-08-11
预估到期
2029-12-26
| 申请号 | CN201922381498.1 |
| 申请日 | 2019-12-26 |
| 授权公布号 | CN211233178U |
| 授权公告日 | 2020-08-11 |
| 分类号 | F24F3/16 |
| 分类 | 供热;炉灶;通风; |
| 申请人名称 | 杭州象外环保科技有限公司 |
| 申请人地址 | 浙江省杭州市余杭区仓前街道葛巷村世导科技园3幢406室 |
专利法律状态
2020-08-11
授权
状态信息
授权
摘要
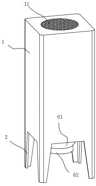
本实用新型涉及空气净化器领域,特别地,涉及一种便于清理的空气净化器,包括壳体、设于壳体下部的支脚、设于壳体上的进气风扇,以及设于壳体内的过滤组件,还包括设于壳体底部用于收集灰尘的集尘组件;所述壳体的底板上开设有进风口;所述过滤组件包括下端敞口且下端固定罩设在进风口上的罩筒、固定连接在罩筒内侧壁上的滤布,以及设于罩筒内用以清刷滤布的清刷机构,其中所述罩筒的侧壁上开设有若干通孔;所述集尘组件包括罩设在进风口下壁上且两端敞口的集尘罩,以及可拆卸安装在集尘罩下端的罩盖,其中所述集尘罩呈上宽下窄的漏斗状;本实用新型方便清理滤布,并对灰尘进行收集处理。


