授权公布号:CN220327406U
清洁刷和自动清洁设备
有效
申请
2022-12-30
申请公布
1970-01-01
授权
2024-01-12
预估到期
2032-12-30
| 申请号 | CN202223604646.X |
| 申请日 | 2022-12-30 |
| 授权公布号 | CN220327406U |
| 授权公告日 | 2024-01-12 |
| 分类号 | A47L11/40;A47L11/24;A47L11/282;A47L1/02 |
| 分类 | 家具;家庭用的物品或设备;咖啡磨;香料磨;一般吸尘器; |
| 申请人名称 | 北京石头世纪科技股份有限公司 |
| 申请人地址 | 北京市海淀区黑泉路8号1幢康健宝盛广场C座六层6016、6017、6018号 |
专利法律状态
2024-01-12
授权
状态信息
授权
摘要
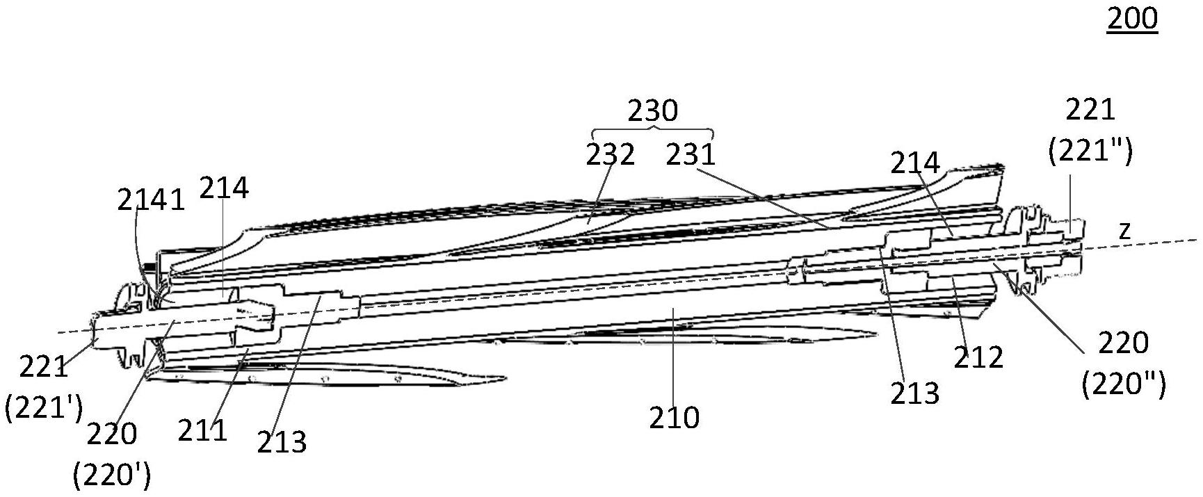
本公开提供一种清洁刷和自动清洁设备,一种清洁刷,所述清洁刷包括:轴杆,具有沿轴向相反的第一端部和第二端部,所述第一端部和第二端部中的至少一者包括配合件;刷构件,所述刷构件共轴地套设于所述轴杆外周;以及端部构件,配置为与所述配合件匹配安装,其中,所述配合件的外侧端面相对于该配合件所属端部的外侧端面更加靠近所述轴杆中心。


