授权公布号:CN213868652U
一种环保装饰用硅藻板
有效
申请
2020-08-18
申请公布
1970-01-01
授权
2021-08-03
预估到期
2030-08-18
| 申请号 | CN202021722855.2 |
| 申请日 | 2020-08-18 |
| 授权公布号 | CN213868652U |
| 授权公告日 | 2021-08-03 |
| 分类号 | E04F13/072;E04F13/074;A47G1/06 |
| 分类 | 建筑物; |
| 申请人名称 | 湖北天然居科技有限公司 |
| 申请人地址 | 湖北省武汉市东湖新技术开发区花城大道8号武汉软件新城二期B8-401室 |
专利法律状态
2021-08-03
授权
状态信息
授权
摘要
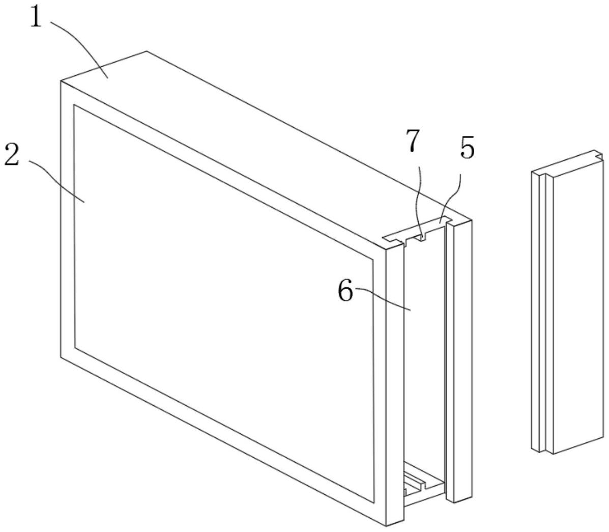
本实用新型公开了一种环保装饰用硅藻板,包括一框体,具有相对设置的前端以及后端,框体的内部为中空结构,其前端为开口结构,且该开口结构与中空结构连通,在该开口结构内设置有玻璃层,框体的上板与下板之间形成有沿上板长度方向滑动连接有装饰画板、隔板以及硅藻板组件,装饰画板、隔板以及硅藻板组件在中空结构内从前到后依次设置,框体左右两侧中的一侧的侧板设有沿侧板长度方向延伸的插槽,该侧的侧板收容于插槽内;插槽的槽底设有开口,该开口与框体内部的中空结构连通,框体后端具有通风结构。该环保装饰用硅藻板结构简单,比较方便,便于更换的同时保障装饰画板的质量。


