授权公布号:CN215254173U
一种环保型硅藻泥装饰壁材
有效
申请
2021-04-20
申请公布
1970-01-01
授权
2021-12-21
预估到期
2031-04-20
| 申请号 | CN202120805044.7 |
| 申请日 | 2021-04-20 |
| 授权公布号 | CN215254173U |
| 授权公告日 | 2021-12-21 |
| 分类号 | E04F13/076 |
| 分类 | 建筑物; |
| 申请人名称 | 湖北天然居科技有限公司 |
| 申请人地址 | 湖北省武汉市东湖新技术开发区花城大道8号武汉软件新城二期B8-401室 |
专利法律状态
2021-12-21
授权
状态信息
授权
摘要
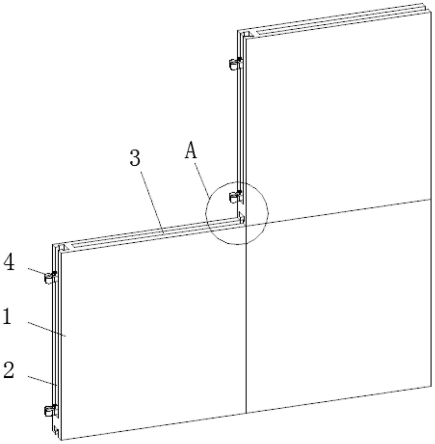
本申请属于装饰壁材技术领域,公开了一种环保型硅藻泥装饰壁材,包括装饰板本体,沿着装饰板本体的左侧自上而下开设有一段限位槽,沿着装饰板本体的底部自左至右也开设有一段限位槽,限位槽的内侧活动设置有一组连接件,连接件的端部延伸至限位槽的外侧,且连接件的端部固定有两个弹性卡块,限位槽远离弹性卡块的一侧内壁处开设有多个定位孔,沿着装饰板本体的顶部自右至左开设有一段卡槽,沿着装饰板本体的右侧自下而上也开设有一段卡槽,弹性卡块与对应的卡槽相卡合。本申请不仅便于拼接,而且能够使得装饰板本体之间的连接更加牢固。


