授权公布号:CN213119279U
一种石墨烯发热墙面板材
有效
申请
2020-08-18
申请公布
1970-01-01
授权
2021-05-04
预估到期
2030-08-18
| 申请号 | CN202021734263.2 |
| 申请日 | 2020-08-18 |
| 授权公布号 | CN213119279U |
| 授权公告日 | 2021-05-04 |
| 分类号 | F24D13/02;F24D19/10;E04F13/075;E04F13/076;E04F13/074;E04F15/02;E04F15/10;E04F15/18 |
| 分类 | 供热;炉灶;通风; |
| 申请人名称 | 湖北天然居科技有限公司 |
| 申请人地址 | 湖北省武汉市东湖新技术开发区花城大道8号武汉软件新城二期B8-401室 |
专利法律状态
2021-05-04
授权
状态信息
授权
摘要
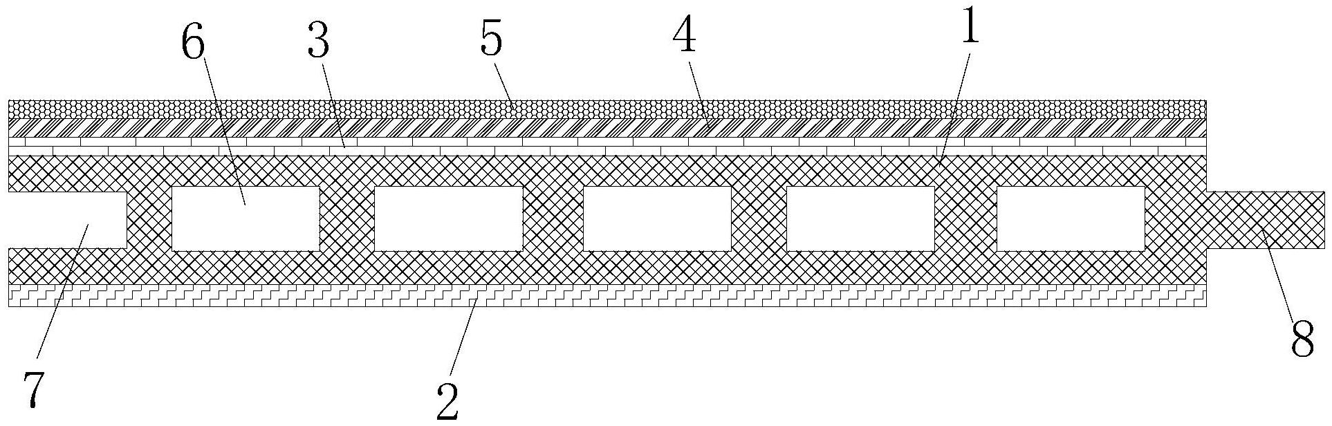
本实用新型公开了一种石墨烯发热墙面板材,包括基板层、隔热层、绝缘层、耐温阻燃层和发热涂层,绝缘层铺装在基板层的一端面,耐温阻燃层铺装在绝缘层的端面上,发热涂层铺装在耐温阻燃层的端面上,隔热层铺装在基板层的另一端面,发热涂层其中两侧边引出有用于连接电路系统的电缆线。本实用新型有益效果:本实用新型设置有石墨烯材料制成的发热涂层,发热涂层通过电缆线连接电路系统,电路系统供电发热涂层发热供暖,石墨烯材料升温迅速,热转换效率高,覆盖率高,发热涂层使用24V低电压运行,安全可靠;耐温阻燃层起到阻燃作用,绝缘层起到绝缘作用,隔热层起到隔热作用,减少热量传递至墙面、地板后面。


