授权公布号:CN210021071U
一种水下推进器用的下盖
有效
申请
2019-01-25
申请公布
1970-01-01
授权
2020-02-07
预估到期
2029-01-25
| 申请号 | CN201920132951.2 |
| 申请日 | 2019-01-25 |
| 授权公布号 | CN210021071U |
| 授权公告日 | 2020-02-07 |
| 分类号 | A63B35/08 |
| 分类 | 运动;游戏;娱乐活动; |
| 申请人名称 | 北京万鑫科技有限公司 |
| 申请人地址 | 天津市武清区南蔡村镇金博路20号 |
专利法律状态
2023-08-01
专利申请权、专利权的转移
状态信息
专利权的转移;IPC(主分类):A63B 35/08;专利号:ZL2019201329512;登记生效日:20230720;变更事项:专利权人;变更前权利人:北京万鑫科技有限公司;变更后权利人:天津蓝特飞驰科技有限公司;变更事项:地址;变更前权利人:101100 北京市通州区梨园南街39号一层;变更后权利人:300000 天津市武清区南蔡村镇金博路20号
2020-02-07
授权
状态信息
授权
摘要
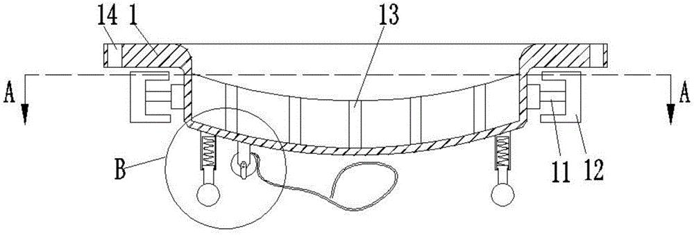
本实用新型公开了一种水下推进器用的下盖,包括壳体,所述壳体的底端固定连接有第一套筒,且第一套筒上滑动连接有球头杆,所述第一套筒的内部安装有第一弹簧,且第一弹簧与球头杆相互抵接,所述第一套筒内侧的壳体外壁上固定连接有安装板,且安装板上通过轴承安装有固定轴,所述固定轴上固定连接有绕线轮,所述壳体的外壁上设置有六组防撞组件。本实用新型能够有效防止水下推进器掉落后损坏下盖,还能防止水下推进器忽然从手中滑落的现象出现,另外能够有效保护水下推进器下盖不受损坏,结构简单,实用性强。


