授权公布号:CN216678039U
用于再制奶酪加工的加热乳化锅
有效
申请
2021-12-28
申请公布
1970-01-01
授权
2022-06-07
预估到期
2031-12-28
| 申请号 | CN202123333576.4 |
| 申请日 | 2021-12-28 |
| 授权公布号 | CN216678039U |
| 授权公告日 | 2022-06-07 |
| 分类号 | B01F33/83;B01F23/41;B01F25/50;B01F33/70;B01F35/90;B01F101/11N |
| 分类 | 一般的物理或化学的方法或装置; |
| 申请人名称 | 河北晓进机械制造股份有限公司 |
| 申请人地址 | 河北省石家庄市高新技术开发区长江大道279号 |
专利法律状态
2022-06-07
授权
状态信息
授权
摘要
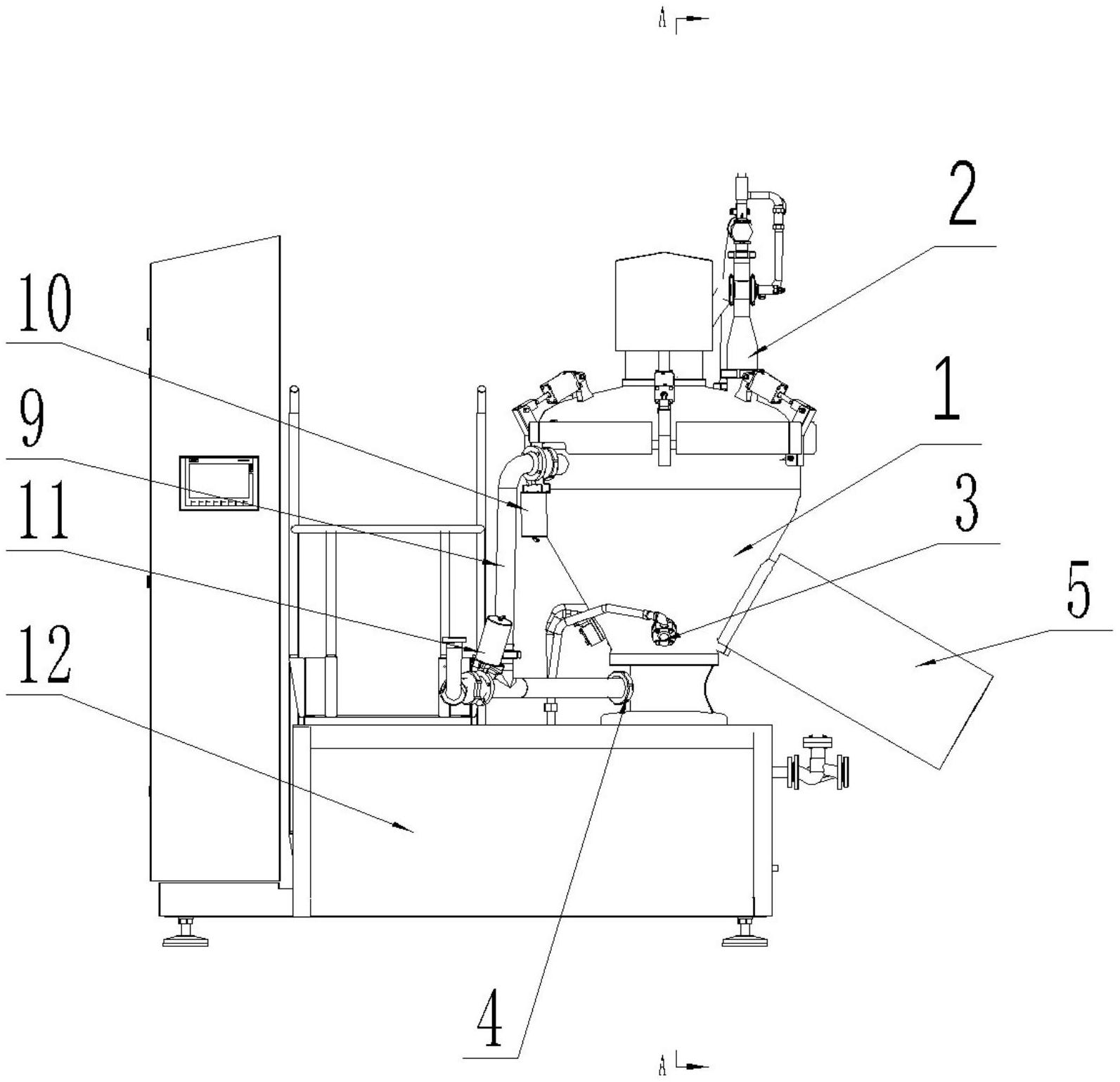
本实用新型提出一种用于再制奶酪加工的加热乳化锅,包括一个立式容器,所述立式容器具有进料口与出料口,所述出料口位于立式容器内腔底部,所述立式容器内腔侧壁上设置有斩拌刀,所述斩拌刀连接第一动力部以驱动所述斩拌刀转动以将立式容器内腔中的物料切割粉碎,所述立式容器内腔底部出料口一侧设置有乳化刀,所述乳化刀连接第二动力部以驱动所述乳化刀转动以将立式容器内腔中的物料进一步粉碎细化。本实用新型提出一种用于再制奶酪加工的加热乳化锅,立式容器侧壁斩拌刀与立式容器底部乳化刀相配合能够实现物料的粉碎细化,其结构设置简单合理,粉碎细化效果好;同时,蒸汽导入装置与抽真空辅助功能加工物料,整个加工过程可以在封闭的环境内完成,避免加工过程中污染物料,满足自动化流水线生产需要。


