授权公布号:CN206470333U
带USB母座车充产品的测试机构
有效
申请
2016-12-12
申请公布
1970-01-01
授权
2017-09-05
预估到期
2026-12-12
| 申请号 | CN201621358704.7 |
| 申请日 | 2016-12-12 |
| 授权公布号 | CN206470333U |
| 授权公告日 | 2017-09-05 |
| 分类号 | G01R31/00;G01R1/04 |
| 分类 | 测量;测试; |
| 申请人名称 | 厦门鑫森海电子股份有限公司 |
| 申请人地址 | 福建省厦门市火炬高新区(翔安)产业区同龙二路903号4层01单元 |
专利法律状态
2017-09-05
授权
状态信息
授权
摘要
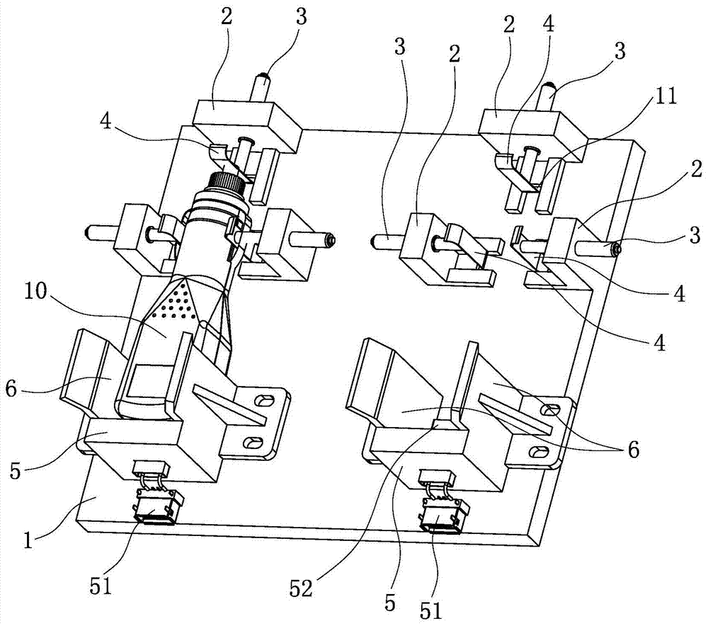
本实用新型公开了一种带USB母座车充产品的测试机构,包括基座、顶针固定台、顶针、弹片、USB公头固定台;所述的顶针固定台的底部和USB公头固定台皆固定安装在基座上,USB公头固定台开有与USB公头匹配的孔,孔内套置有USB正负极引线引出机构,所述的顶针固定穿置在顶针固定台的上部,弹片中部外壁与顶针的穿入端固接,弹片的内壁与且USB公头固定台相对而设。由于本实用新型的弹片与USB公头固定台相对而设,构成一个车充产品USB母座的容置空间,车充产品USB母座套入该容置空间后,快速完成带USB母座车充产品的定位测试,具有结构简单、成本低廉、测试步骤较少的优点。


