授权公布号:CN216192306U
一种致病菌分子检测仪
有效
申请
2021-11-01
申请公布
1970-01-01
授权
2022-04-05
预估到期
2031-11-01
| 申请号 | CN202122653590.6 |
| 申请日 | 2021-11-01 |
| 授权公布号 | CN216192306U |
| 授权公告日 | 2022-04-05 |
| 分类号 | C12M1/34;C12M1/00 |
| 分类 | 生物化学;啤酒;烈性酒;果汁酒;醋;微生物学;酶学;突变或遗传工程; |
| 申请人名称 | 温州修文食品有限公司 |
| 申请人地址 | 浙江省温州市瓯海区新桥街道前花工业区金达路43号 |
专利法律状态
2022-04-05
授权
状态信息
授权
摘要
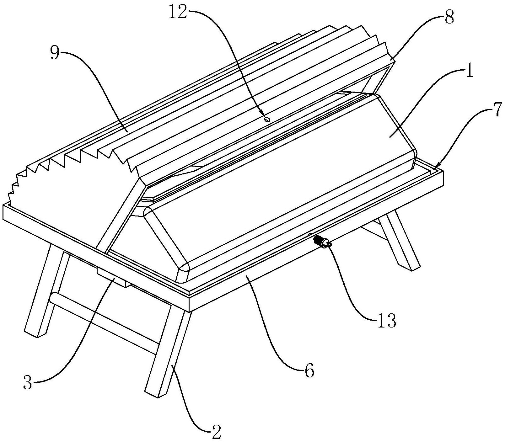
本申请涉及一种致病菌分子检测仪,涉及检测仪的技术领域,其包括机体,所述机体的底部固定套设有承接环,所述承接环上转动连接有龙门架,且所述机体位于所述龙门架的内侧,所述龙门架的一侧壁与所述承接环通过柔性的防护罩连接,当所述龙门架翻转且所述防护罩舒展后,所述机体能够位于所述防护罩的内侧。通过设置能够将机体遮蔽的防护罩,当机体处于闲置或收纳状态时,防护罩能够对机体进行防尘遮蔽,改善灰尘或水渍积存在机体表面的问题,从而提高机体的洁净度。


