授权公布号:CN214496055U
医院用污水处理装置
有效
申请
2020-12-30
申请公布
1970-01-01
授权
2021-10-26
预估到期
2030-12-30
| 申请号 | CN202023263094.1 |
| 申请日 | 2020-12-30 |
| 授权公布号 | CN214496055U |
| 授权公告日 | 2021-10-26 |
| 分类号 | C02F9/14 |
| 分类 | 水、废水、污水或污泥的处理; |
| 申请人名称 | 佛山市雅洁源科技股份有限公司 |
| 申请人地址 | 广东省佛山市南海区桂城街道深海路17号瀚天科技城A6301 |
专利法律状态
2021-10-26
授权
状态信息
授权
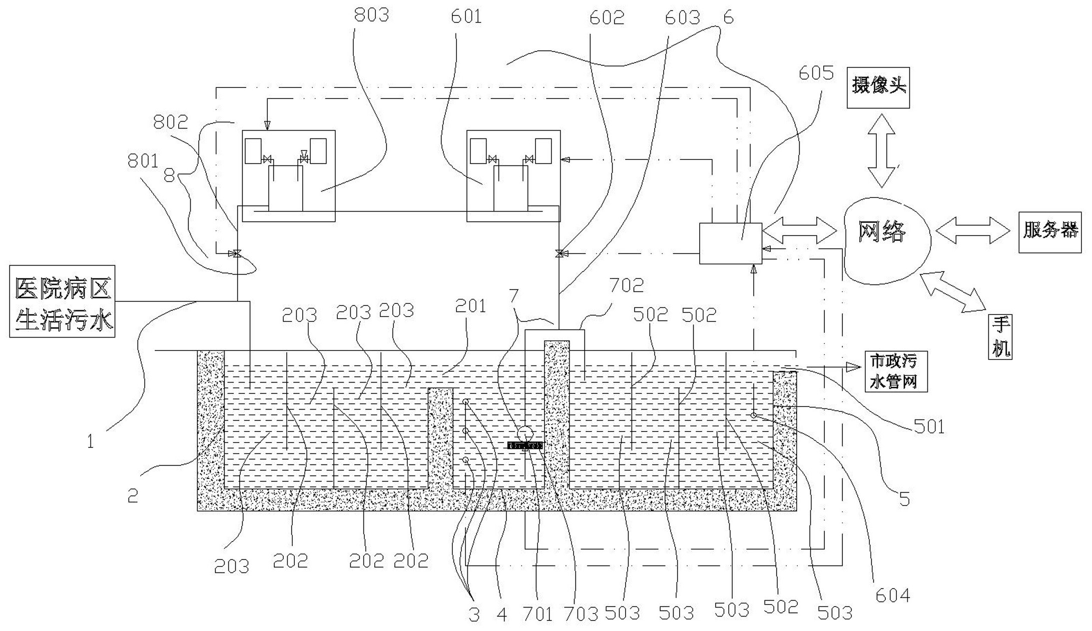
摘要
一种污水处理置,具体为一种医院用污水处理装置,先将医院病区生活污水通过管道导入化粪池中,同时,往化粪池投放消毒药水,化粪池的上清液导入调节池中,然后泵送到反应池中,同时,投放消毒药水,反应池中的上清液从反应池中的上部溢流口流出并排放,设置有消毒水含量检测器,根据上清液中的消毒水含量来调节往输送管投放消毒药水的量。本发明与已有技术相比,具有能有效杀灭污水中的病毒的,避免污水导入市政污水管网后,引发疾病传染的优点。


