授权公布号:CN113262977B
一种大米深加工用除杂干燥一体化设备及其使用方法
有效
申请
2021-04-16
申请公布
2021-08-17
授权
2022-06-14
预估到期
2041-04-16
| 申请号 | CN202110408886.3 |
| 申请日 | 2021-04-16 |
| 申请公布号 | CN113262977A |
| 申请公布日 | 2021-08-17 |
| 授权公布号 | CN113262977B |
| 授权公告日 | 2022-06-14 |
| 分类号 | B07B1/34;B07B1/42;B07B1/46;B07B4/08;B07B9/00;F26B21/00;F26B17/04 |
| 分类 | 将固体从固体中分离;分选; |
| 申请人名称 | 江西省一江秋粮油有限公司 |
| 申请人地址 | 江西省吉安市万安县工业园二期 |
专利法律状态
2022-06-14
授权
状态信息
授权
2021-08-17
公布
状态信息
公布
摘要
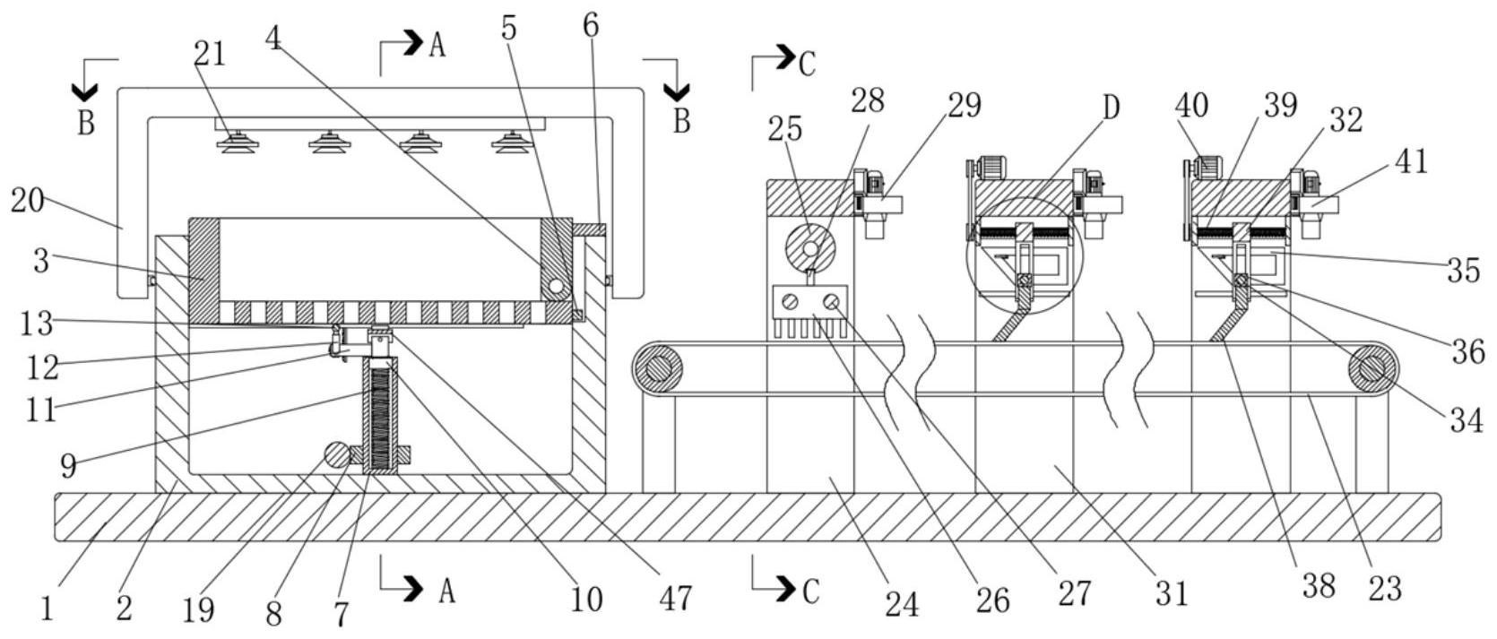
本发明公开了一种大米深加工用除杂干燥一体化设备及其使用方法,现提出如下方案,其包括工作台,所述工作台的顶部固定连接有分离箱、挡边传送带、第一U型架和多个第二U型架,且挡边传送带分别穿过第一U型架与多个第二U型架,所述分离箱内滑动连接有筛框,所述分离箱内设有用于对大米进行除杂的除杂组件,本发明结构简单,操作方便,在对筛框内大米进行筛选砂石和沙尘的同时还能够将大米中的稻谷壳进行吸收,而且在大米输送的过程中能够将大米平摊开方便后期烘干大米,另外还能够自动的将大米进行多次翻面再烘干,能够将大米全方位的烘干,防止大米中含有残留的水分,致使大米发霉。


