授权公布号:CN215099970U
一种假发剪条机用发带固定结构
有效
申请
2021-04-28
申请公布
1970-01-01
授权
2021-12-10
预估到期
2031-04-28
| 申请号 | CN202120897288.2 |
| 申请日 | 2021-04-28 |
| 授权公布号 | CN215099970U |
| 授权公告日 | 2021-12-10 |
| 分类号 | B65G15/58;B65G47/22;B26D7/02 |
| 分类 | 输送;包装;贮存;搬运薄的或细丝状材料; |
| 申请人名称 | 湖北德尚工贸股份有限公司 |
| 申请人地址 | 湖北省黄石市大冶市陈贵镇李河村马栗山 |
专利法律状态
2021-12-10
授权
状态信息
授权
摘要
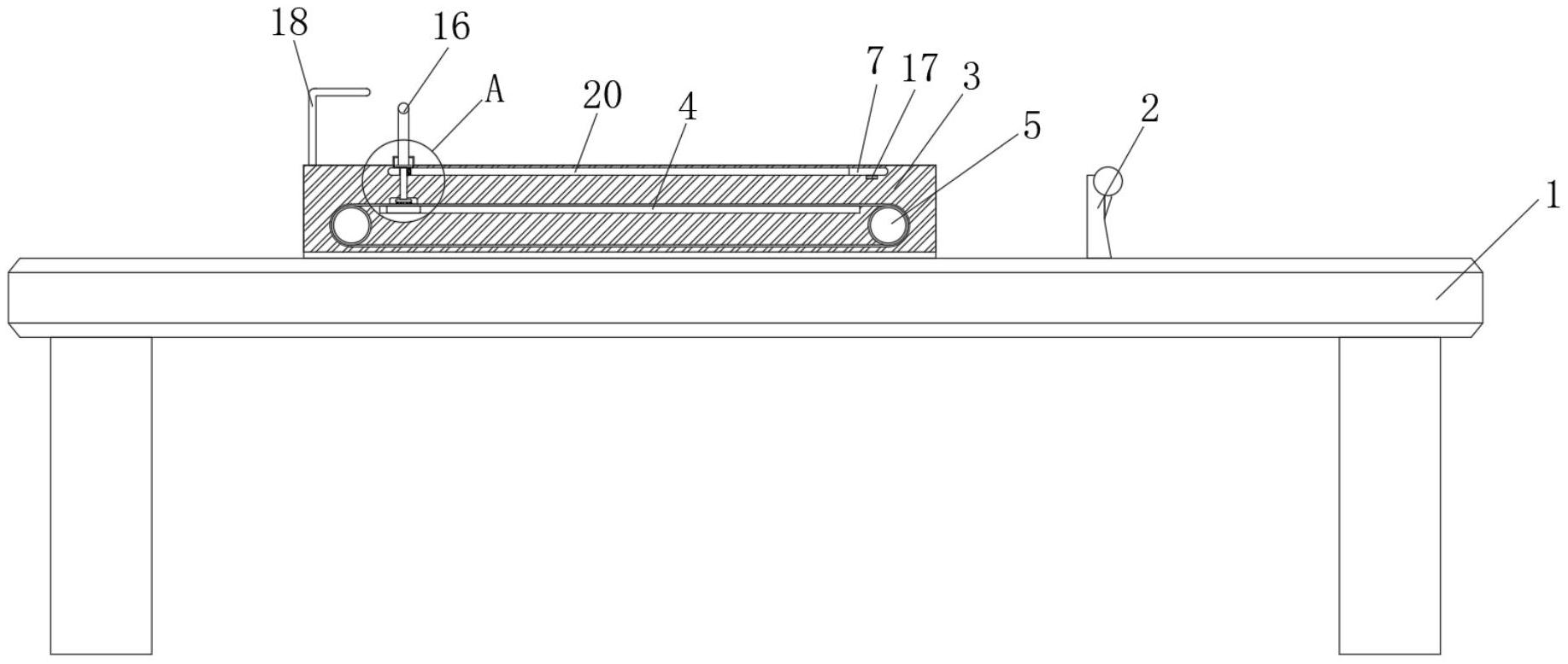
本实用新型涉及假发加工辅助工具技术领域,具体揭示了一种假发剪条机用发带固定结构,包括加工台与用于假发发带裁剪的裁剪组件以及凹形金属框和第一金属板,凹形金属框,所述凹形金属框位于加工台的顶部左侧位置处,所述凹形金属框内壁的正面与背面之间且靠近左右两侧的位置处均转动连接有转杆,通过抓住T型杆向下施压并向右推动,利用橡胶传送带和橡胶垫对裁剪完成后的假发发带起到夹持效果,使得铺设至橡胶传送带顶部且裁剪完成后的假发发带统一向右侧进行滑动,从而实现对批量假发发带同时移动的效果,更有利于工作人员对同批次的假发发带进行裁剪,防止同批次的某根或多根假发发带移动距离不一致的情况出现。


