授权公布号:CN216998915U
一种高平滑性重磅真丝面料的加工设备
有效
申请
2022-03-21
申请公布
1970-01-01
授权
2022-07-19
预估到期
2032-03-21
| 申请号 | CN202220614296.6 |
| 申请日 | 2022-03-21 |
| 授权公布号 | CN216998915U |
| 授权公告日 | 2022-07-19 |
| 分类号 | D06C15/10;B01D46/10 |
| 分类 | 织物等的处理;洗涤;其他类不包括的柔性材料; |
| 申请人名称 | 杭州亮点纺织品印整有限公司 |
| 申请人地址 | 浙江省杭州市杭州余杭经济开发区五洲路41号 |
专利法律状态
2022-07-19
授权
状态信息
授权
摘要
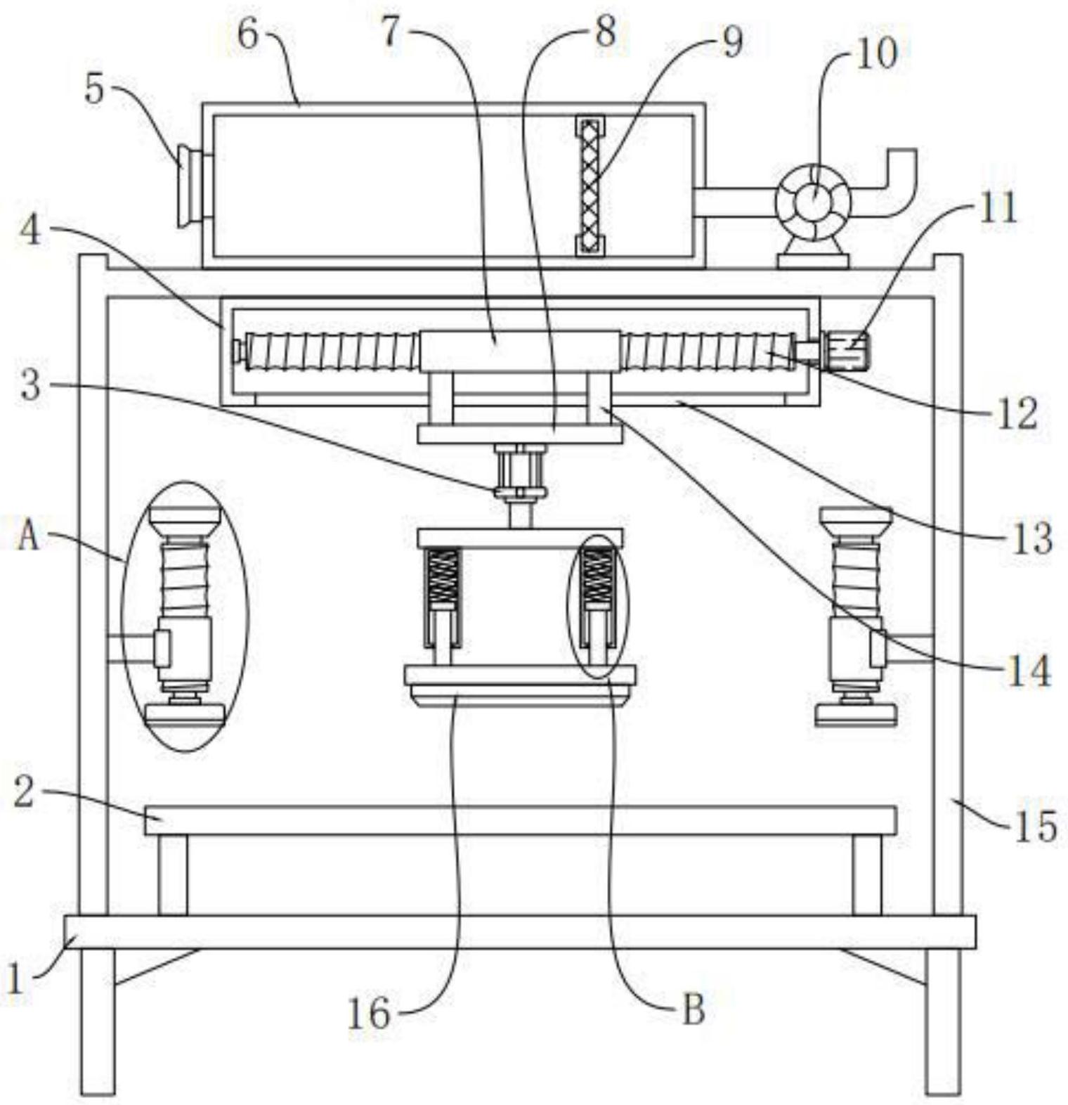
本实用新型公开了一种高平滑性重磅真丝面料的加工设备,包括机台,机台顶端的中心位置处设有置物台,置物台外侧的机台顶端设有机架,机架顶部的中心位置处设有传动机体,传动机体底部的中心位置处设有条形槽,条形槽的底端延伸至传动机体的外部,传动机体内部的中心位置处转动连接有螺纹杆,传动机体一侧的外壁上安装有旋转驱动件,旋转驱动件的一端延伸至传动机体的内部并与螺纹杆的一端固定连接,螺纹杆的外壁上螺纹连接有螺纹筒。本实用新型不仅提高了加工设备使用时对真丝面料的加工效果,还降低了加工设备使用时真丝面料产生位移的现象,而且降低了加工设备使用时对环境造成污染的现象。


