授权公布号:CN103405009B
一种智能集成伞具
有效
申请
2013-07-09
申请公布
2013-11-27
授权
2016-08-10
预估到期
2033-07-09
| 申请号 | CN201310285944.3 |
| 申请日 | 2013-07-09 |
| 申请公布号 | CN103405009A |
| 申请公布日 | 2013-11-27 |
| 授权公布号 | CN103405009B |
| 授权公告日 | 2016-08-10 |
| 分类号 | A45B23/00 |
| 分类 | 手携物品或旅行品; |
| 申请人名称 | 雨中鸟(福建)户外用品有限公司 |
| 申请人地址 | 福建省泉州市晋江市东石镇金瓯工业区 |
专利法律状态
2021-12-28
专利权的保全及其解除
状态信息
专利权保全的解除;IPC(主分类):A45B23/00;申请日:20130709;授权公告日:20160810;解除日:20211109
2018-12-11
专利权的保全及其解除
状态信息
专利权的保全;IPC(主分类):A45B23/00;申请日:20130709;授权公告日:20160810;登记生效日:20181109
2016-08-10
授权
状态信息
授权
2013-12-18
实质审查的生效
状态信息
实质审查的生效;IPC(主分类):A45B23/00;申请日:20130709
2013-11-27
公布
状态信息
公布
摘要
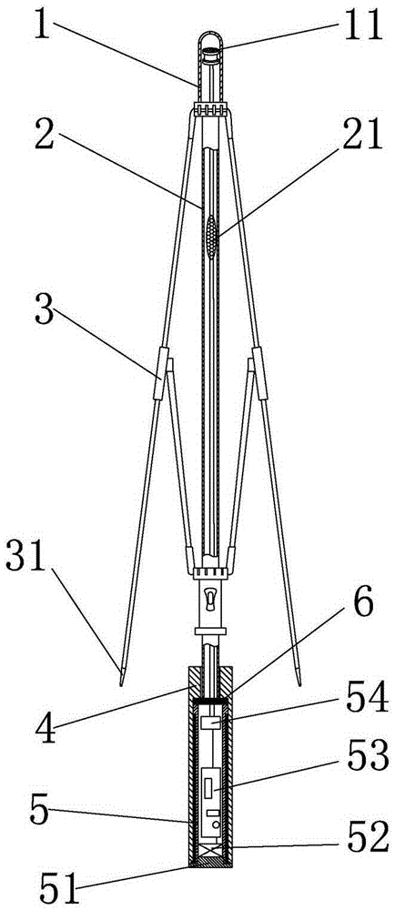
本发明涉及日常生活用品领域,具体涉及一种智能集成伞具,包括伞尾头、伞杆、伞骨以及伞柄,伞骨的四周末端均套装有珠尾件,伞尾头内设有光敏感应器,伞杆的中上方内置有扬声器,伞柄内嵌套卡接有滑动控制盒,滑动控制盒内装置有控制芯片、LCD显示器和蓄电池,珠尾件内均嵌套有传感器,滑动控制盒上还安装有与控制芯片对应连接的控制按钮,本发明实现了简易导航,正确指示回家的方向,也可实现功能多样化、集成多个传感器,实时监测当前环境参数,并集成光敏感应器,在能见度不高的情况下,周边会自动闪烁灯光,引起路人的注意并对周围的人起到警示作用,降低使用者的外出风险,整体伞具功能完善、携带和使用方便,符合大众需求。


