授权公布号:CN104138109B
防盗伞
有效
申请
2014-07-09
申请公布
2014-11-12
授权
2015-08-19
预估到期
2034-07-09
| 申请号 | CN201410322677.7 |
| 申请日 | 2014-07-09 |
| 申请公布号 | CN104138109A |
| 申请公布日 | 2014-11-12 |
| 授权公布号 | CN104138109B |
| 授权公告日 | 2015-08-19 |
| 分类号 | A45B11/00;E05B73/02;A45B9/02 |
| 分类 | 手携物品或旅行品; |
| 申请人名称 | 雨中鸟(福建)户外用品有限公司 |
| 申请人地址 | 福建省泉州市晋江市东石镇金瓯工业区 |
专利法律状态
2022-01-04
专利权的保全及其解除
状态信息
专利权保全的解除;IPC(主分类):A45B11/00;申请日:20140709;授权公告日:20150819;解除日:20211109
2018-12-07
专利权的保全及其解除
状态信息
专利权的保全;IPC(主分类):A45B11/00;申请日:20140709;授权公告日:20150819;登记生效日:20181109
2015-08-19
授权
状态信息
授权
2014-12-10
实质审查的生效
状态信息
实质审查的生效;IPC(主分类):A45B11/00;申请日:20140709
2014-11-12
公布
状态信息
公布
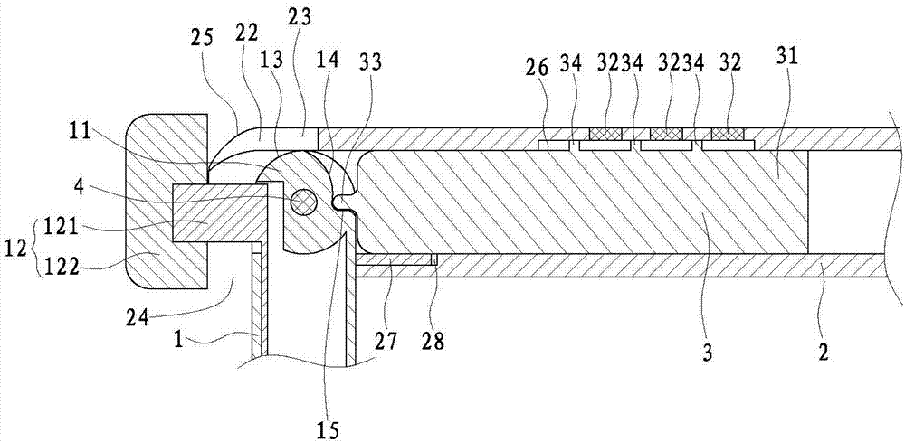
摘要
一种防盗伞,包括具有伞中棒和伞柄的伞本体,伞中棒设有伞开关机构,伞中棒与伞柄枢接在一起;伞开关机构包括贯穿所述伞中棒管壁的细颈部和按钮;枢接部包括两片唇部,两唇部的一侧形成有供细颈部通过的空隙,另一侧形成有供伞柄转动的让位缺口;当伞中棒与伞柄处于同一条直线未相对转动时,按钮与唇部之间的距离大于按钮的有效按压距离;当伞中棒与伞柄处于垂直相互转动后,按钮与唇部端部之间的距离小于按钮的有效按压距离;枢接头的头部为弧形面,弧形面开设有一弧形槽,还包括有一密码锁,密码锁包括有锁芯和密码转盘,锁芯一端设有可顶掣弧形面的凸柱,且凸柱沿弧形槽位移;借助上述结构,本发明防盗伞可有效地降低伞具被盗走的风险。


