授权公布号:CN214172592U
一种双回路旁通制冷系统
有效
申请
2020-12-25
申请公布
1970-01-01
授权
2021-09-10
预估到期
2030-12-25
| 申请号 | CN202023179538.3 |
| 申请日 | 2020-12-25 |
| 授权公布号 | CN214172592U |
| 授权公告日 | 2021-09-10 |
| 分类号 | F25B1/00;F25B41/20;F25B41/31;F25B41/42;F25B49/02 |
| 分类 | 制冷或冷却;加热和制冷的联合系统;热泵系统;冰的制造或储存;气体的液化或固化; |
| 申请人名称 | 南京五洲制冷集团有限公司 |
| 申请人地址 | 江苏省南京市江宁科学园天印大道1529号 |
专利法律状态
2021-09-10
授权
状态信息
授权
摘要
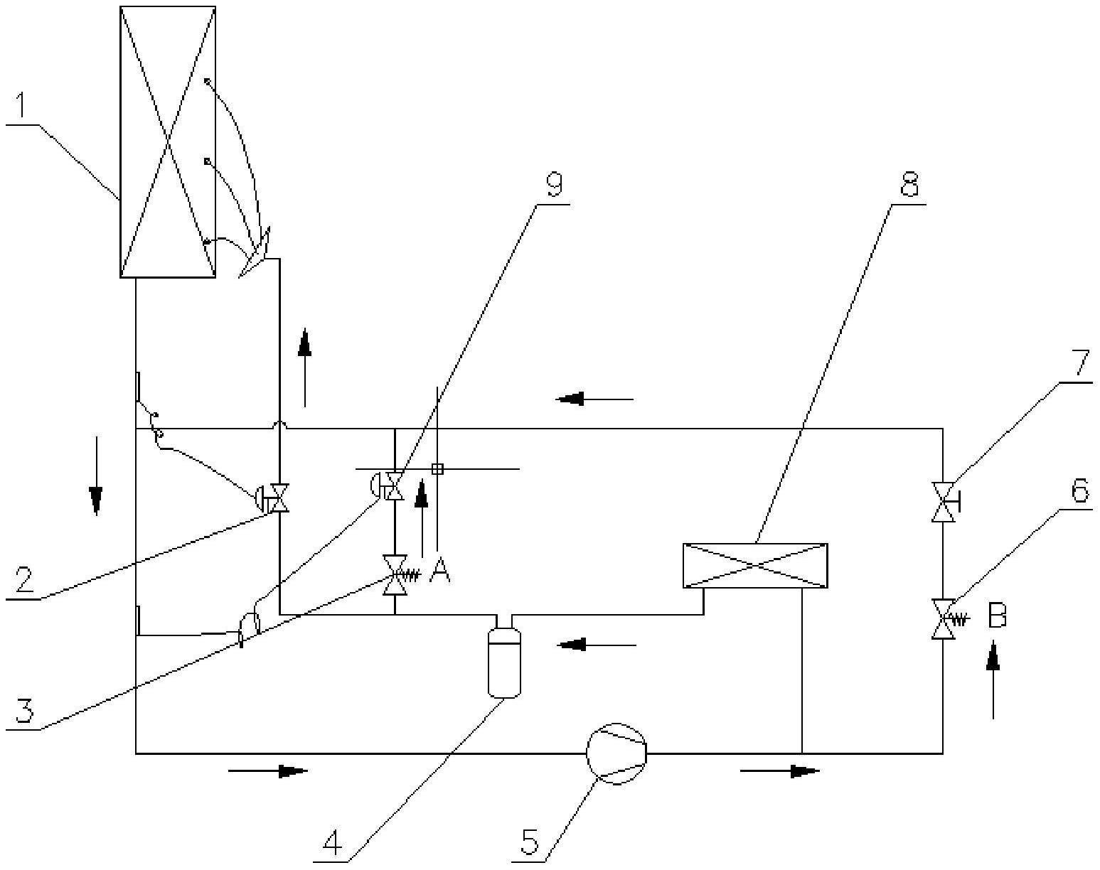
本实用新型公开了一种双回路旁通制冷系统,包括蒸发器,所述蒸发器的出口连接压缩机,压缩机的出口分为两条支路,一条支路连接冷凝器入口,另一条支路连接热气旁通阀;所述冷凝器出口连接储液器入口,储液器出口分为两条支路,其中一条支路连接蒸发器,另一支路连接过热降温膨胀阀。本实用新型通过在系统中同时设置热气旁通阀回路和过热降温膨胀阀回路,可保证系统在负荷变化较大的情况下也可正常运行,维持系统在给定的最小吸气压力下正常工作,并解决了由此带来的压缩机过热及回油困难的问题。


