授权公布号:CN209672405U
一种集成灶风道装置
有效
申请
2019-01-28
申请公布
1970-01-01
授权
2019-11-22
预估到期
2029-01-28
| 申请号 | CN201920146471.1 |
| 申请日 | 2019-01-28 |
| 授权公布号 | CN209672405U |
| 授权公告日 | 2019-11-22 |
| 分类号 | F24C15/20 |
| 分类 | 供热;炉灶;通风; |
| 申请人名称 | 绍兴市康内电器有限公司 |
| 申请人地址 | 浙江省绍兴市嵊州市经济开发区经禄路58号绍兴市康内电器有限公司 |
专利法律状态
2019-11-22
授权
状态信息
授权
摘要
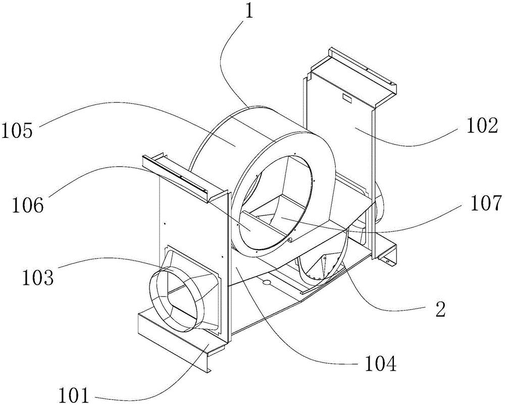
本实用新型提供一种集成灶风道装置,涉及集成灶技术领域。该集成灶风道装置,包括支撑固定装置、排气调节装置,所述支撑固定装置的内部活动安装有排气调节装置,所述支撑固定装置包括支撑固定底座,所述支撑固定底座的上端固定安装有两组支撑固定机架,两组支撑固定机架的相反一端均固定安装有定位出风管道。该集成灶风道装置,通过气流在圆形出风通道进入,通过圆形出风通道气流直接进入环形出风通槽的内部,然后直接进入到风向导向板的上端,通过调节风向导向板可以改变气流的方向,然后通知指定的定位出风管道将气流排出,使风向导向板具备了风向调节功能,且能够很好的从对应的定位出风管道排出,从而提高了使用性能。


