授权公布号:CN218462318U
一种服装模板切割装置
有效
申请
2022-07-27
申请公布
1970-01-01
授权
2023-02-10
预估到期
2032-07-27
| 申请号 | CN202221977720.X |
| 申请日 | 2022-07-27 |
| 授权公布号 | CN218462318U |
| 授权公告日 | 2023-02-10 |
| 分类号 | B26D7/02;B26D7/20 |
| 分类 | 手动切割工具;切割;切断; |
| 申请人名称 | 曼帛(上海)家居科技有限公司 |
| 申请人地址 | 上海市浦东新区自由贸易试验区临港新片区环湖西二路888号C楼 |
专利法律状态
2023-02-10
授权
状态信息
授权
摘要
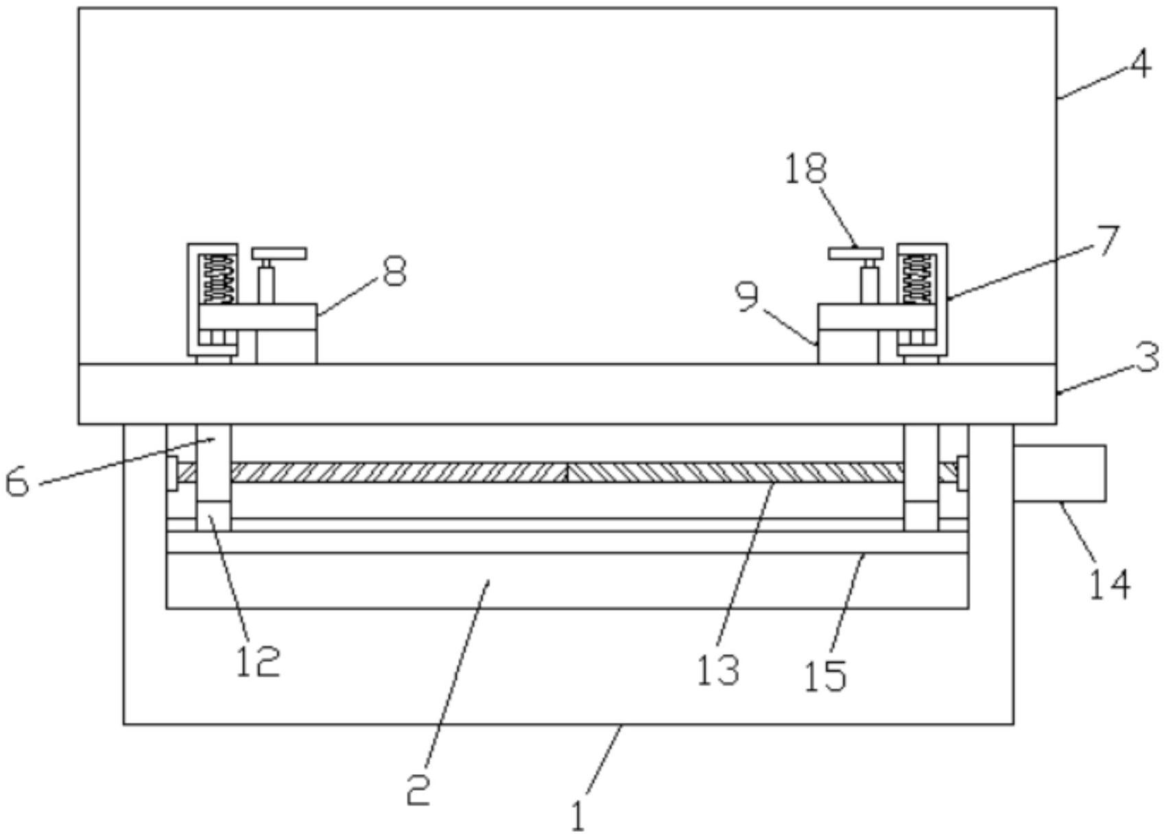
本实用新型属于服装制造设备技术领域,具体公开了一种服装模板切割装置,包括底座,所述底座的内部开设有容纳槽,容纳槽内设有移动驱动机构;底座的顶部固接有切割台,切割台的后侧设置有切割机,切割台的两侧顶部均开设有移动通槽,且两个移动通槽内均设置有定位机构,定位机构包括移动杆,移动杆活动贯穿移动通槽设置,所述移动杆的顶端固接有框体,框体的内部活动设有升降板,且升降板的一侧底部设有按压板;升降板上活动贯穿有滑杆,滑杆的上下端均与框体内壁固接,且滑杆上于升降板的顶部活动套设有伸缩件;升降板的顶部于框体的外部设置有限位件;本实用新型能够对不同规格的模板进行定位,适用性广,切割过程中不会产生偏差。


