授权公布号:CN212916830U
一种智能感应超声波玻璃清洗装置
有效
申请
2020-08-04
申请公布
1970-01-01
授权
2021-04-09
预估到期
2030-08-04
| 申请号 | CN202021584075.6 |
| 申请日 | 2020-08-04 |
| 授权公布号 | CN212916830U |
| 授权公告日 | 2021-04-09 |
| 分类号 | B08B3/12;B08B3/14 |
| 分类 | 清洁; |
| 申请人名称 | 深圳市华彩玻璃机械有限公司 |
| 申请人地址 | 广东省深圳市光明新区公明办事处上村社区莲塘工业城D区第11栋 |
专利法律状态
2021-04-09
授权
状态信息
授权
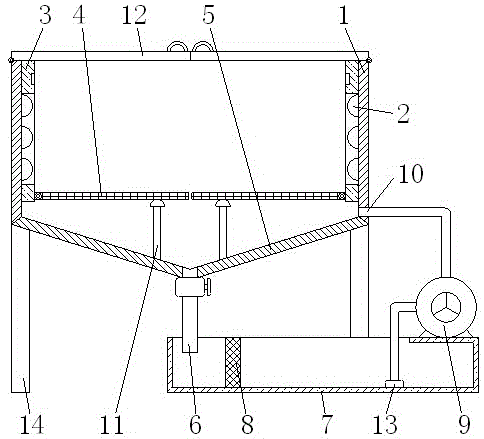
摘要
本实用新型涉及清洗设备技术领域,且公开了一种智能感应超声波玻璃清洗装置,包括清洗框和超声波换能器,所述清洗框内部的两侧分别与超声波换能器固定安装,所述清洗框内部的两侧均栓接有安装框,所述超声波换能器位于安装框的内部,所述安装框远离清洗框一侧的底部铰接有支撑网板,所述清洗框的底部栓接有弧形底框,所述弧形底框底部的轴心处连通有排水管,所述弧形底框的底部设置有与排水管连通的处理池;本实用新型可以直接利用水流将杂质直接排出箱子,使用者直接在外侧对杂质进行处理,无需进入箱子的内部;将废水直接排入过滤装置,利用过滤装置对水进行过滤,过滤完成后再次导入装置的内部。


