授权公布号:CN212842561U
一种高速双出风型玻璃烘干机
有效
申请
2020-08-03
申请公布
1970-01-01
授权
2021-03-30
预估到期
2030-08-03
| 申请号 | CN202021570300.0 |
| 申请日 | 2020-08-03 |
| 授权公布号 | CN212842561U |
| 授权公告日 | 2021-03-30 |
| 分类号 | F26B25/00;F26B9/06;F26B25/12;F26B21/00;F26B25/16 |
| 分类 | 干燥; |
| 申请人名称 | 深圳市华彩玻璃机械有限公司 |
| 申请人地址 | 广东省深圳市光明新区公明办事处上村社区莲塘工业城D区第11栋 |
专利法律状态
2021-03-30
授权
状态信息
授权
摘要
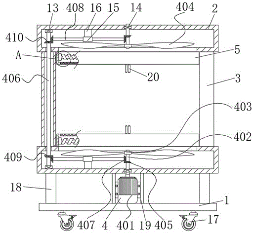
本实用新型涉及玻璃烘干技术领域,且公开了一种高速双出风型玻璃烘干机,包括底板,所述底板的顶部设有两个烘干盒;本实用新型解决了现如今玻璃用的烘干机在使用的过程中只能对玻璃进行单向吹风烘干和无法根据不同玻璃大小对出风口进行调节的问题,通过双出风的方式,让使用者在对玻璃进行烘干时,可以同时对玻璃进行两面烘干,不再需要工人对玻璃进行翻转,不仅降低了工人的工作量,同时也提高了对玻璃的烘干效率,通过调节烘干机出风口的方式,让使用者可以根据玻璃不同的大小来对烘干机的出风口进行调节,进而使玻璃可以更快的得到烘干,不仅提高了设备的实用性,同时也有效的节省了不必要的成本。


