授权公布号:CN212831486U
一种高效夹层玻璃生产输送系统
有效
申请
2020-08-03
申请公布
1970-01-01
授权
2021-03-30
预估到期
2030-08-03
| 申请号 | CN202021570299.1 |
| 申请日 | 2020-08-03 |
| 授权公布号 | CN212831486U |
| 授权公告日 | 2021-03-30 |
| 分类号 | B65G49/06 |
| 分类 | 输送;包装;贮存;搬运薄的或细丝状材料; |
| 申请人名称 | 深圳市华彩玻璃机械有限公司 |
| 申请人地址 | 广东省深圳市光明新区公明办事处上村社区莲塘工业城D区第11栋 |
专利法律状态
2021-03-30
授权
状态信息
授权
摘要
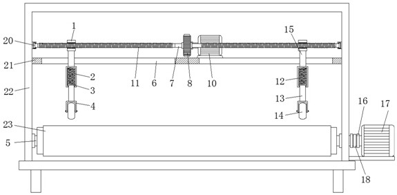
本实用新型涉及玻璃生产技术领域,且公开了一种高效夹层玻璃生产输送系统,包括加工箱体,所述加工箱体内通过第一转轴转动连接有若干转动辊,若干所述第一转轴通过传动装置和驱动电机进行连接,所述加工箱体内壁上连接有若干支撑座,所述支撑座上对称设有条形开口,所述条形开口内均滑动连接有连接杆,所述连接杆顶部连接有螺纹管,所述加工箱体内壁上转动连接有第二转轴,两个所述螺纹管连接在第二转轴的两侧,所述第二转轴外壁上对称设有两个螺纹段,所述螺纹管螺纹连接在螺纹段上;本实用新型设置的滚轮可在玻璃的表面进行滚动,即可满足不同宽度的玻璃的定位,且在复位弹簧的弹力作用下,可满足不同厚度玻璃的定位。


