授权公布号:CN209753621U
一种平板玻璃清洗机
有效
申请
2019-03-01
申请公布
1970-01-01
授权
2019-12-10
预估到期
2029-03-01
| 申请号 | CN201920266070.X |
| 申请日 | 2019-03-01 |
| 授权公布号 | CN209753621U |
| 授权公告日 | 2019-12-10 |
| 分类号 | B08B11/04;B08B3/02;B08B1/02;B08B13/00 |
| 分类 | 清洁; |
| 申请人名称 | 深圳市汉东玻璃机械有限公司 |
| 申请人地址 | 广东省深圳市宝安区燕罗街道塘下涌社区松塘路43号汉东机械厂房三101 |
专利法律状态
2019-12-10
授权
状态信息
授权
摘要
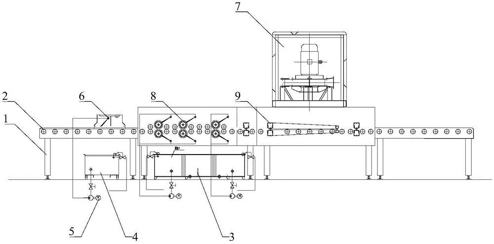
本实用新型公开了一种平板玻璃清洗机,包括机架和成排设于机架上的传输滚筒,还包括固定于机架上的PLC控制器、热传感器、加热器、水箱、进水水泵、出水水泵和喷头,水箱包括进水口和出水口,进水口处设有所述进水水泵,出水口通过出水水泵与喷头相连,喷头朝向传输滚筒设置;加热器和热传感器均固定于水箱内,热传感器、加热器、进水水泵以及出水水泵均与PLC控制器信号连接。设于水箱内的热传感器和加热器对水箱内的清洗用水进行恒温控制,确保从喷头喷出的清洗用水温度始终保持在一个相对稳定的状态,保护普通平板玻璃不受清洗用水温度过低的影响,避免发生平板玻璃受损或破裂的情况。


