授权公布号:CN213670994U
全自动玻璃清洗装置
有效
申请
2020-11-23
申请公布
1970-01-01
授权
2021-07-13
预估到期
2030-11-23
| 申请号 | CN202022730340.3 |
| 申请日 | 2020-11-23 |
| 授权公布号 | CN213670994U |
| 授权公告日 | 2021-07-13 |
| 分类号 | B08B11/04;B08B1/02;B08B3/02;B08B13/00 |
| 分类 | 清洁; |
| 申请人名称 | 深圳市汉东玻璃机械有限公司 |
| 申请人地址 | 广东省深圳市宝安区燕罗街道塘下涌社区松塘路43号汉东机械厂房三101 |
专利法律状态
2021-07-13
授权
状态信息
授权
摘要
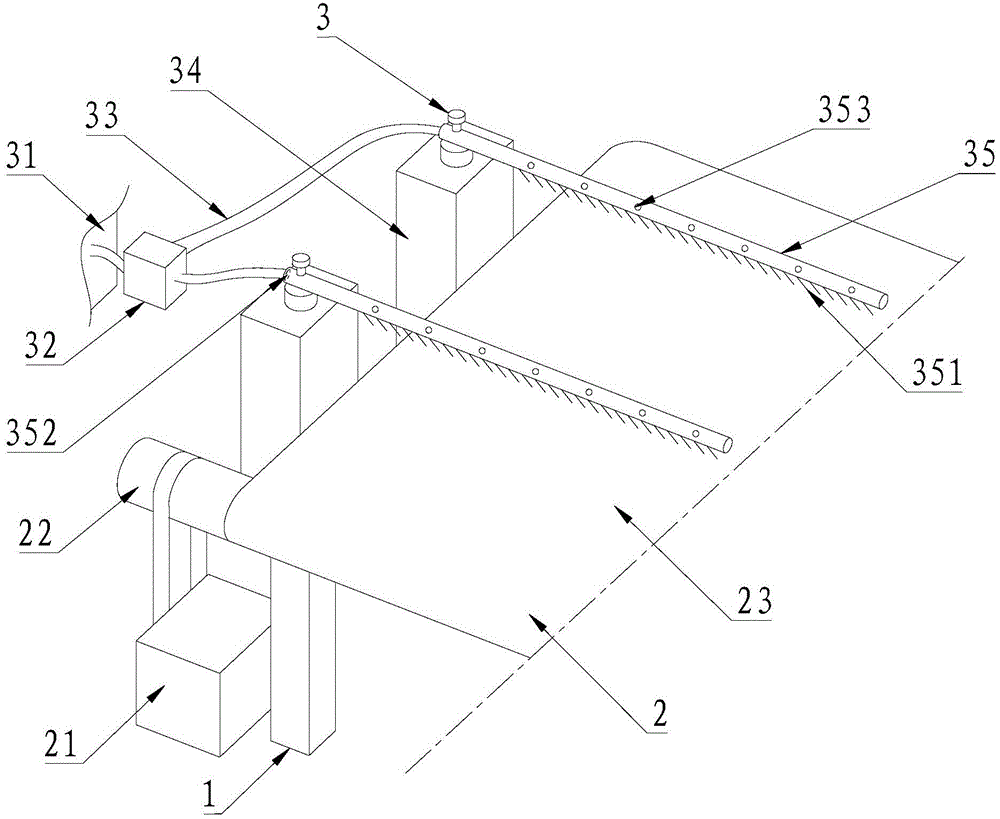
本实用新型涉及玻璃生产加工设备领域,尤其涉及全自动玻璃清洗装置,包括机架以及分别设置在所述机架上的送料机构和清洗机构;所述送料机构包括送料电机、送料辊和传送带,所述送料辊转动设置在所述机架上,所述送料电机设置在所述机架上并与所述送料辊连接,所述传送带设置在所述送料辊的表面;两组所述清洗机构分别位于所述传送带沿垂直于送料方向的两侧,所述清洗机构包括水箱、泵机、送水管、舵机和清洁摆臂,所述水箱设置在所述机架上,所述水箱通过一条所述送水管与所述泵机连接。本实用新型提供的全自动玻璃清洗装置相较于传统的人员手动刷洗的玻璃清洁方式,清洁效率更高、清洁质量更好,有助于提高玻璃产品品质。


