授权公布号:CN213622250U
一种玻璃起重设备
有效
申请
2020-11-23
申请公布
1970-01-01
授权
2021-07-06
预估到期
2030-11-23
| 申请号 | CN202022730162.4 |
| 申请日 | 2020-11-23 |
| 授权公布号 | CN213622250U |
| 授权公告日 | 2021-07-06 |
| 分类号 | B65G49/06;B66F19/00 |
| 分类 | 输送;包装;贮存;搬运薄的或细丝状材料; |
| 申请人名称 | 深圳市汉东玻璃机械有限公司 |
| 申请人地址 | 广东省深圳市宝安区燕罗街道塘下涌社区松塘路43号汉东机械厂房三101 |
专利法律状态
状态信息
摘要
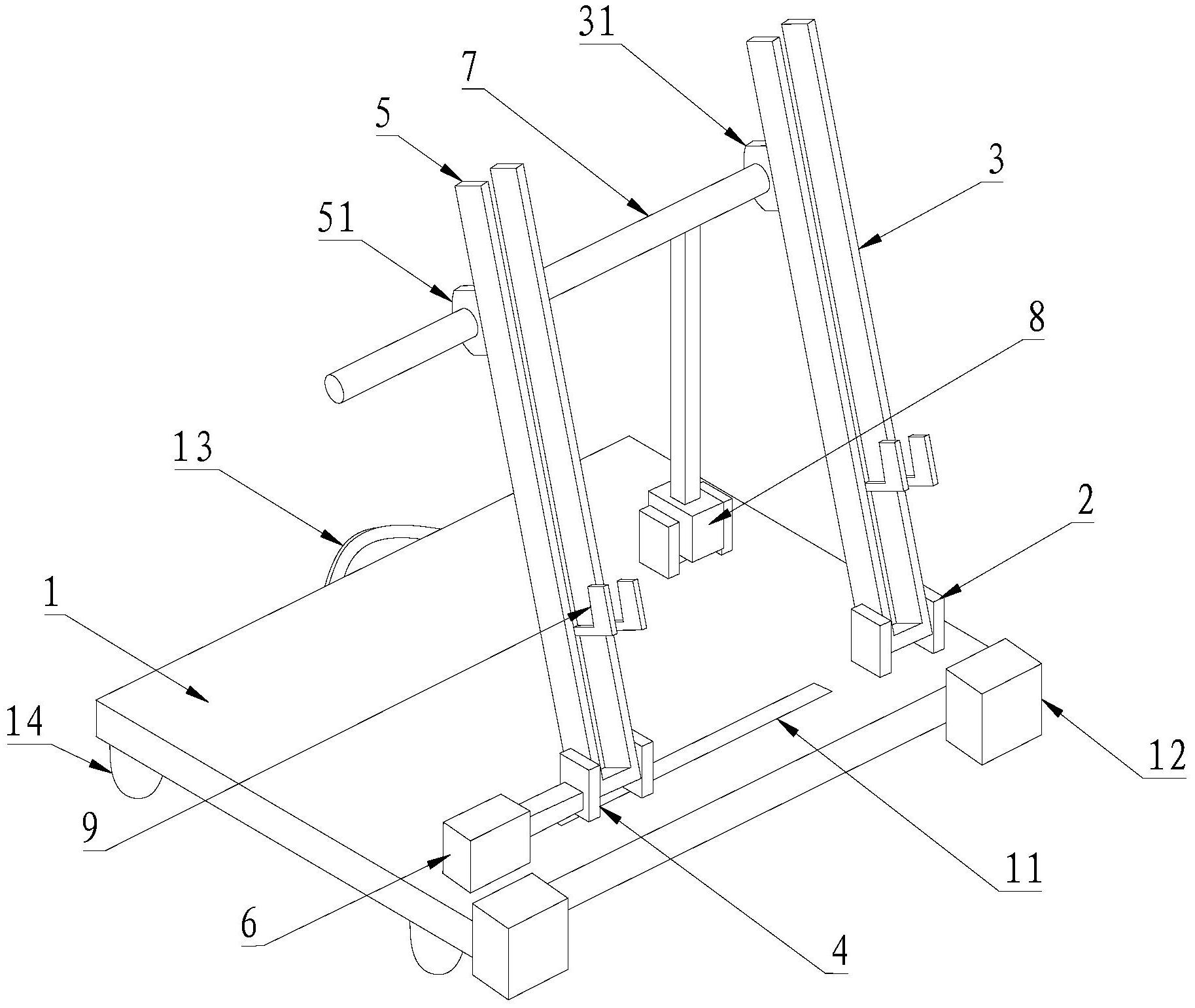
本实用新型涉及玻璃生产设备技术领域,尤其涉及一种玻璃起重设备,包括底座、固定承座、第一支撑臂、移动承座、第二支撑臂、水平调位油缸、连接轴和翻转调位油缸;所述固定承座固定设置在所述底座上,所述第一支撑臂的一端与所述固定承座铰接,所述第一支撑臂的转动面垂直于水平面,所述底座沿第一水平方向设有第一导轨,所述第一导轨垂直于所述第一支撑臂的转动面,所述移动承座移动设置在所述第一导轨上,所述第二支撑臂的一端与所述移动承座铰接,所述第二支撑臂的转动面平行于所述第一支撑臂的转动面。本实用新型提供的玻璃起重设备相较于传统的玻璃起重设备,具有结构巧妙、易于操作、实用性强、适用范围广的优点。


