授权公布号:CN207061315U
一种平板玻璃传送装置
有效
申请
2017-08-01
申请公布
1970-01-01
授权
2018-03-02
预估到期
2027-08-01
| 申请号 | CN201720949711.2 |
| 申请日 | 2017-08-01 |
| 授权公布号 | CN207061315U |
| 授权公告日 | 2018-03-02 |
| 分类号 | B65G49/06 |
| 分类 | 输送;包装;贮存;搬运薄的或细丝状材料; |
| 申请人名称 | 深圳市汉东玻璃机械有限公司 |
| 申请人地址 | 广东省深圳市宝安区松岗街道塘下涌同富裕工业园松塘路43号第三幢第一层 |
专利法律状态
2018-03-02
授权
状态信息
授权
摘要
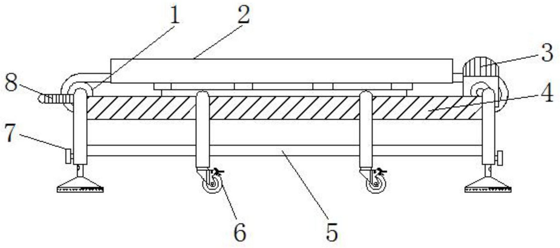
本实用新型公开了一种平板玻璃传送装置,包括传送板底座,所述传送板底座两侧上端固定有对称分布的防护板,所述防护板包括挡板,所述挡板中部开设有窗口,且窗口内侧安装有透视窗口,所述挡板两侧安装有对称分布的连接板,且连接板下端安装有四组对称分布的固定卡扣,所述传送板底座上端面安装有传送装置,所述传送装置一端外侧安装有驱动机,所述传送板底座两侧固定有对称分布的伸缩固定柱,所述伸缩固定柱包括支撑柱,所述支撑柱上端一侧固定在传送板底座侧端面。本实用新型通过采用大底盘防滑固定设计,增加防护板和移动轮,固定效果好,移动方便,在玻璃传送时可以保护玻璃不会受到外部环境影响而受到损坏。


