授权公布号:CN207066017U
一种玻璃清洗干燥机
有效
申请
2017-08-01
申请公布
1970-01-01
授权
2018-03-02
预估到期
2027-08-01
| 申请号 | CN201720949706.1 |
| 申请日 | 2017-08-01 |
| 授权公布号 | CN207066017U |
| 授权公告日 | 2018-03-02 |
| 分类号 | F26B9/06;F26B21/00;F26B25/08;F26B25/10;F26B25/18 |
| 分类 | 干燥; |
| 申请人名称 | 深圳市汉东玻璃机械有限公司 |
| 申请人地址 | 广东省深圳市宝安区松岗街道塘下涌同富裕工业园松塘路43号第三幢第一层 |
专利法律状态
2018-03-02
授权
状态信息
授权
摘要
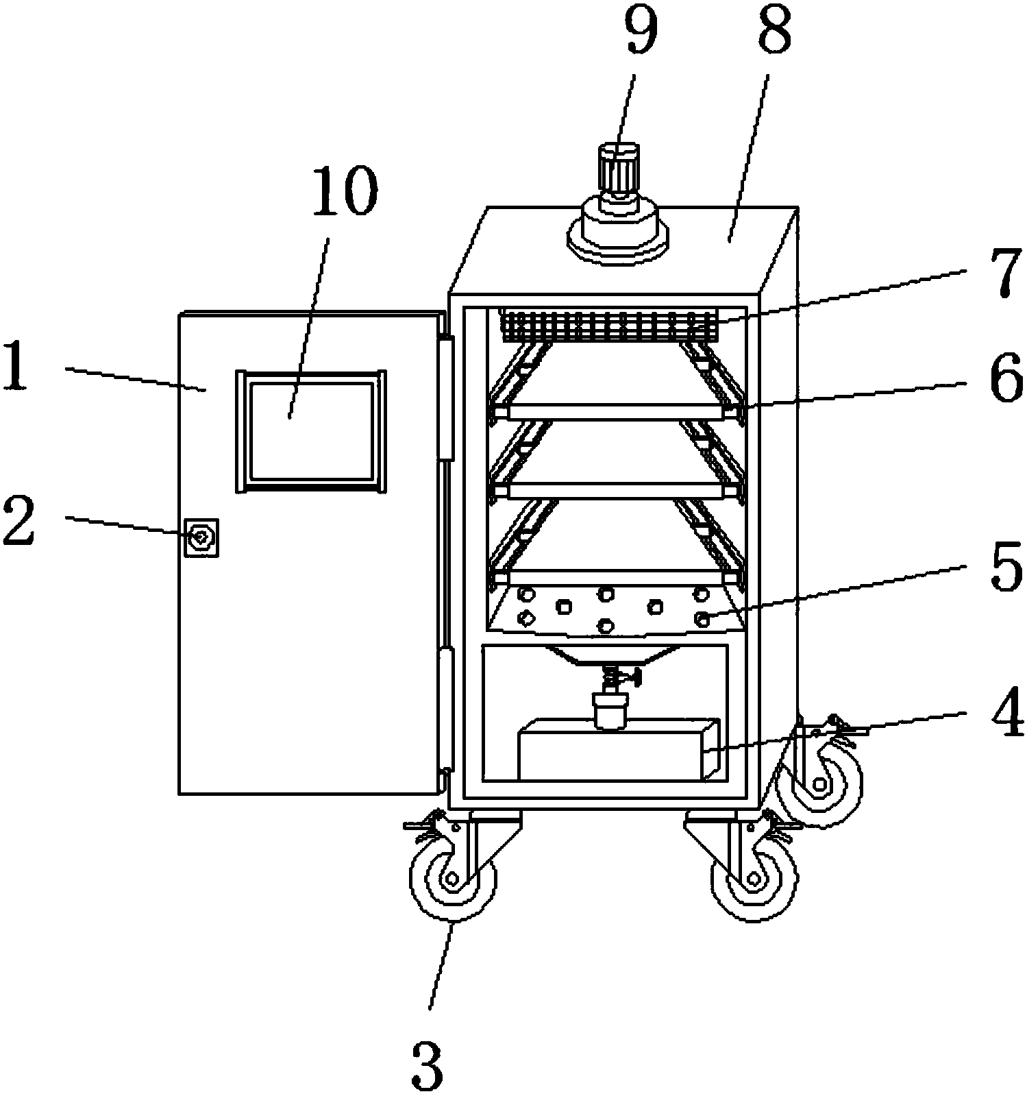
本实用新型公开了一种玻璃清洗干燥机,包括箱体,所述箱体的内部上端固定有电加热器,所述箱体的内部对称固定有干燥支撑主体,所述箱体内部下方固定有凹型集水板,所述凹型集水板的下端固定有集水主体,所述箱体的下端四角均固定有万向轮,所述箱体的上端面中心部固定有风机,所述干燥支撑主体包括玻璃放置架,所述玻璃放置架上下两端面对称固定有网格,所述玻璃放置架两侧对称固定有滑块,所述滑块两侧对称固定有滑轨,所述玻璃放置架的前端内部对称固定有辅助滚轮,所述集水主体包括集水箱,所述集水箱的上表面中心端固定有控制阀,所述箱体一侧转动安装有遮挡门。本实用新型可以快速高效的将清洗后的玻璃进行干燥处理。


