授权公布号:CN213419489U
钢化玻璃均质炉搅拌风机装置
有效
申请
2020-09-11
申请公布
1970-01-01
授权
2021-06-11
预估到期
2030-09-11
| 申请号 | CN202021982319.6 |
| 申请日 | 2020-09-11 |
| 授权公布号 | CN213419489U |
| 授权公告日 | 2021-06-11 |
| 分类号 | F04D29/62;F04D29/66 |
| 分类 | 液体变容式机械;液体泵或弹性流体泵; |
| 申请人名称 | 深圳市新意高玻璃机械有限公司 |
| 申请人地址 | 广东省深圳市光明新区公明街道合水口社区文阁路大鸿科技园A栋一楼 |
专利法律状态
2021-06-11
授权
状态信息
授权
摘要
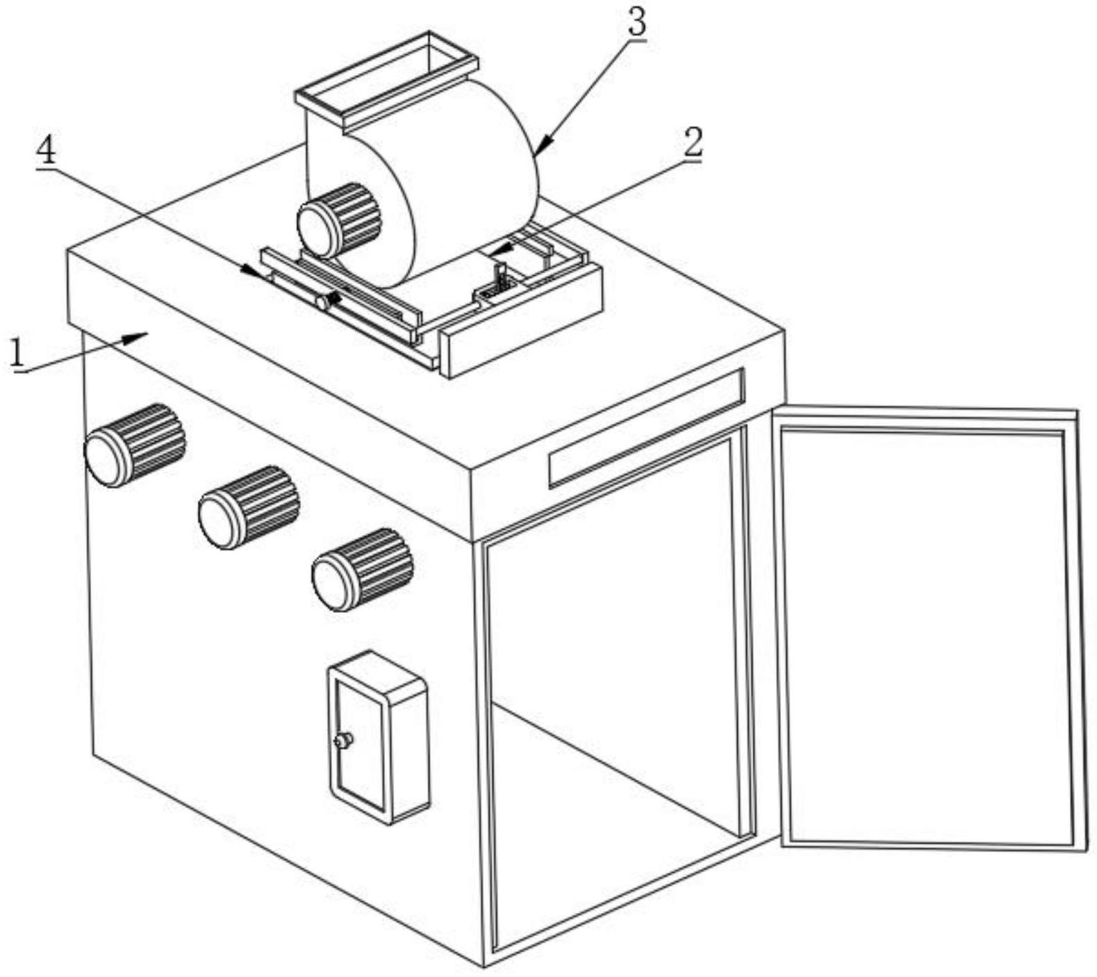
本实用新型公开了钢化玻璃均质炉搅拌风机装置,包括机体,所述机体的顶部开设有第一方形槽,所述第一方形槽内通过缓震装置固定连接有放置板,所述放置板的顶部固定有风机,所述机体的顶部固定有固定板,所述固定板上设置有快速固定装置,所述快速固定装置包括固定在固定板侧壁上的操作箱,所述操作箱上设置有操作腔,所述放置板的顶部固定连接有传动板,且所述传动板位于操作腔内。本实用新型涉及均质炉风机技术领域,可以快速的对搅拌风机进行安装及拆解,提高风机维修与保养的效率,且在各个弹簧的缓冲作用下,形成减震装置,避免装置内部的零件随着装置的抖动造成损坏,提高装置的使用寿命。


