授权公布号:CN215218689U
一种玻璃加工用智能合格检测装置
有效
申请
2021-02-25
申请公布
1970-01-01
授权
2021-12-17
预估到期
2031-02-25
| 申请号 | CN202120413378.X |
| 申请日 | 2021-02-25 |
| 授权公布号 | CN215218689U |
| 授权公告日 | 2021-12-17 |
| 分类号 | G01N29/11;G01N21/958 |
| 分类 | 测量;测试; |
| 申请人名称 | 芜湖索奥斯玻璃技术有限公司 |
| 申请人地址 | 安徽省芜湖市芜湖县芜湖机械工业园 |
专利法律状态
2021-12-17
授权
状态信息
授权
摘要
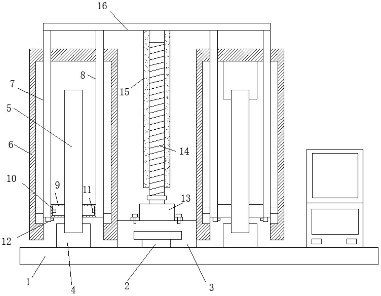
本实用新型公开了一种玻璃加工用智能合格检测装置,其包括底座,所述底座的顶部固定有滑轨和固定座,固定座对称设置于滑轨的两侧,所述固定座固定有纵向放置的玻璃,滑轨上滑动配合有滑动座,所述滑动座的两侧均固定有竖向的移动板,移动板的内侧活动插接有分别位于玻璃两侧的第一插杆、第二插杆,所述第一插杆和第二插杆的下端均固定有罩设于玻璃上的安装罩,安装罩靠近玻璃的一侧开口,位于同一个移动板内的两个安装罩的内侧分别固定有声音发生器和声音强度感应器。本实用新型不仅能够用于对玻璃进行检测,且一次性能够对两个玻璃进行检测,检测效率高,另外,能够对多项内容进行检测,检测效果好,整个装置结构简单,制作成本低。


