授权公布号:CN215394635U
一种光学玻璃加工用碎屑收集装置
有效
申请
2021-01-20
申请公布
1970-01-01
授权
2022-01-04
预估到期
2031-01-20
| 申请号 | CN202120149210.2 |
| 申请日 | 2021-01-20 |
| 授权公布号 | CN215394635U |
| 授权公告日 | 2022-01-04 |
| 分类号 | B24B55/06;B24B55/12 |
| 分类 | 磨削;抛光; |
| 申请人名称 | 芜湖索奥斯玻璃技术有限公司 |
| 申请人地址 | 安徽省芜湖市芜湖县芜湖机械工业园 |
专利法律状态
2022-01-04
授权
状态信息
授权
摘要
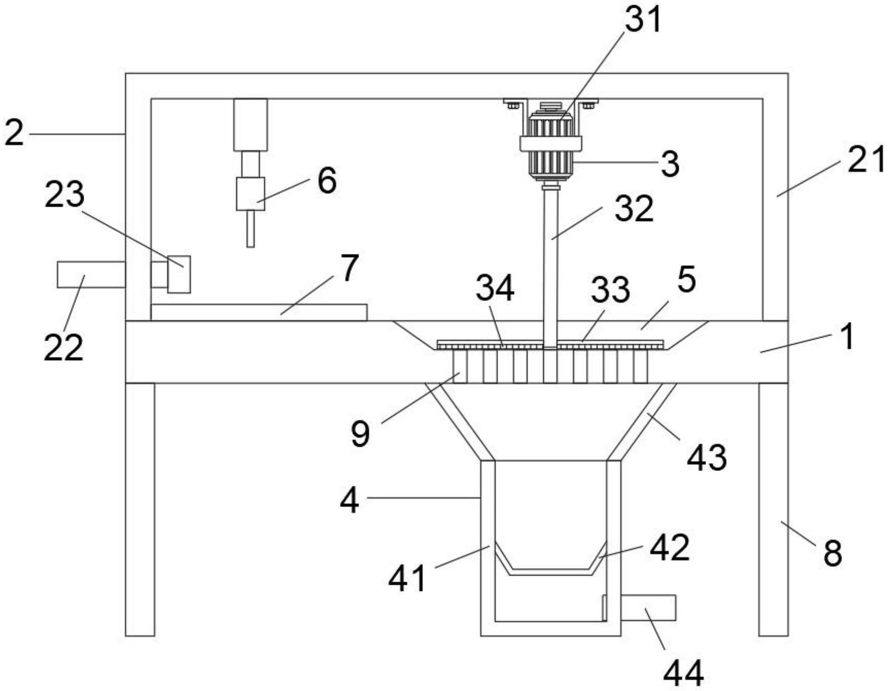
本实用新型提供一种光学玻璃加工用碎屑收集装置,涉及玻璃加工技术领域,包括加工操作台,所述加工操作台底部的四角处均固定连接有支脚,所述加工操作台的上表面固定连接有加工箱,所述加工箱的内部顶端固定连接有清扫机构,所述加工操作台的上表面开设有圆槽,本实用新型,通过设置有加工箱、清扫机构和收集机构,通过高压喷水龙头对加工区进行冲洗,将碎屑冲刷至圆槽的内部,再通过电机带动清扫刷转动,对圆槽内部的碎屑进行清扫,使碎屑由开孔落入收集斗,进入收集桶,对碎屑进行收集并回收利用,使碎屑得到清理,避免了碎屑飞散在空气中,防止碎屑吸入人体对人体健康造成危害,避免了玻璃碎屑进入人眼中使人失明。


