授权公布号:CN215389031U
一种玻璃生产加工车间用切削液混匀装置
有效
申请
2021-02-25
申请公布
1970-01-01
授权
2022-01-04
预估到期
2031-02-25
| 申请号 | CN202120414516.6 |
| 申请日 | 2021-02-25 |
| 授权公布号 | CN215389031U |
| 授权公告日 | 2022-01-04 |
| 分类号 | B01F35/32;B01F27/90;B01F27/232;B01F27/96;B01F101/39N |
| 分类 | 一般的物理或化学的方法或装置; |
| 申请人名称 | 芜湖索奥斯玻璃技术有限公司 |
| 申请人地址 | 安徽省芜湖市芜湖县芜湖机械工业园 |
专利法律状态
2022-01-04
授权
状态信息
授权
摘要
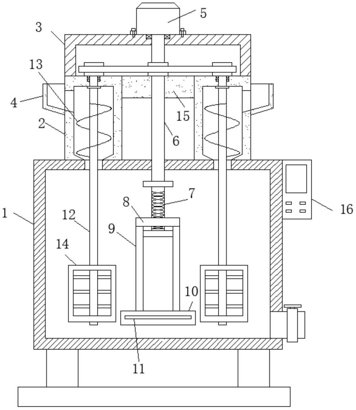
本实用新型公开了一种玻璃生产加工车间用切削液混匀装置,其包括下箱体,下箱体的右侧固定并连通有出料管,出料管上设置有阀门,所述下箱体的顶部固定并连通有多个上箱体,上箱体的上端之间固定有横向的安装箱和固定板,固定板位于安装箱的下方,上箱体上固定并连通有加料斗,所述上箱体的内侧转动安装有竖向的转动杆,转动杆上固定有位于上箱体内的螺旋叶,所述转动杆的下端固定有位于下箱体内的搅拌杆,且转动杆的上端通过链轮组件传动连接有竖向的转动竖杆。本实用新型不仅能一次性同时加入多种物料,且还具备多方向的扰动效果,进而使得溶液搅拌效果,使用灵活,整个装置结构简单,制作成本低。


