授权公布号:CN205703591U
一种四边底边磨边机的移动部件
有效
申请
2016-04-15
申请公布
1970-01-01
授权
2016-11-23
预估到期
2026-04-15
| 申请号 | CN201620323466.X |
| 申请日 | 2016-04-15 |
| 授权公布号 | CN205703591U |
| 授权公告日 | 2016-11-23 |
| 分类号 | B24B9/08;B24B47/04 |
| 分类 | 磨削;抛光; |
| 申请人名称 | 东莞市亚龙玻璃机械有限公司 |
| 申请人地址 | 广东省东莞市凤岗镇黄洞村东升工业二路 |
专利法律状态
2016-11-23
授权
状态信息
授权
摘要
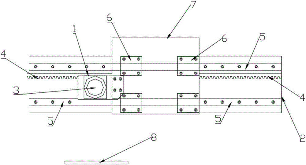
本实用新型公开了一种四边底边磨边机的移动部件,包括伺服电机、减速机、齿轮、齿条、导轨、导轨滑块、移动主安装座和电器控制器,所述齿条和导轨均固定安装在大梁上,减速机的输入端与伺服电机相连,减速机的输出端与齿轮相连,减速机安装在移动主安装座上并且移动主安装座的背面与导轨滑块相连,减速机、伺服电机、齿轮和移动主安装座形成一个整体,导轨滑块与导轨之间采用滑动连接。该装置结构简单,设计合理,可拆卸性好,便于安装和更换;该装置优化了结构,减速机、伺服电机、齿轮和移动主安装座形成一个整体,使得移动速度变快,从而加快工作效率,提高了玻璃生产厂家的经济效益,使用效果好。


