授权公布号:CN205703586U
一种四边底边磨边机的升降部件
有效
申请
2016-04-15
申请公布
1970-01-01
授权
2016-11-23
预估到期
2026-04-15
| 申请号 | CN201620325142.X |
| 申请日 | 2016-04-15 |
| 授权公布号 | CN205703586U |
| 授权公告日 | 2016-11-23 |
| 分类号 | B24B9/06;B24B9/08;B24B41/02 |
| 分类 | 磨削;抛光; |
| 申请人名称 | 东莞市亚龙玻璃机械有限公司 |
| 申请人地址 | 广东省东莞市凤岗镇黄洞村东升工业二路 |
专利法律状态
2016-11-23
授权
状态信息
授权
摘要
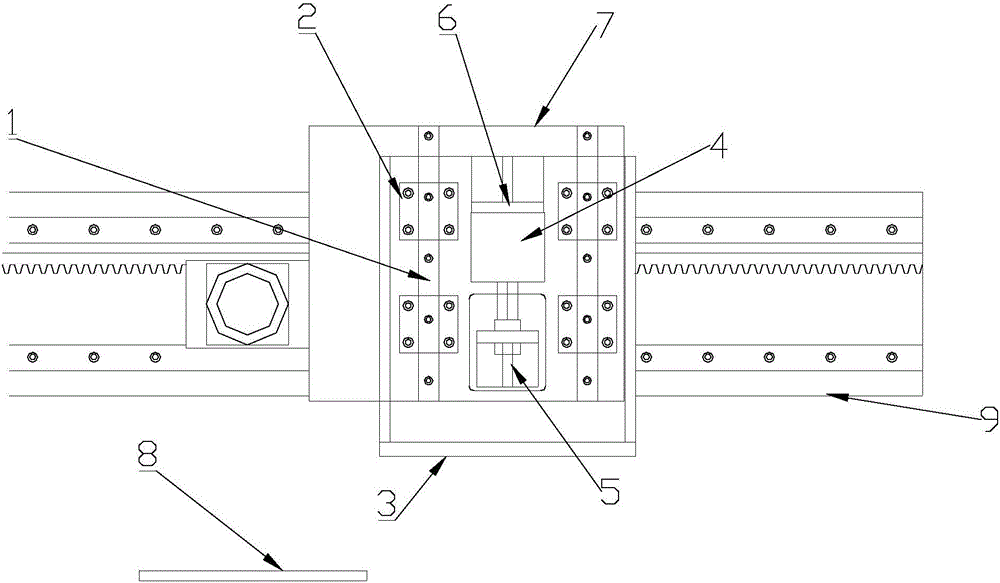
本实用新型公开了一种四边底边磨边机的升降部件,包括导轨、导轨滑块、升降主安装架、气缸和安装座,所述安装座包括气缸前安装座、气缸后安装座和移动主安装座,移动主安装座固定在大梁上端,导轨安装在移动主安装座正面并且导轨与移动主安装座形成一个整体,升降主安装架的背面与导轨滑块相连并且升降主安装架与导轨滑块形成一个整体,导轨滑块与导轨之间采用滑动连接,气缸通过气缸后安装座固定在升降主安装架上,气缸的顶杆通过气缸前安装座安装在移动主安装座上。该装置优化了结构,导轨与移动主安装座形成一个整体,升降主安装架与导轨滑块形成一个整体,使得升降速度变快,从而加快工作效率,提高了玻璃生产厂家的经济效益,使用效果好。


