授权公布号:CN212244164U
一种贴标装置
有效
申请
2020-04-07
申请公布
1970-01-01
授权
2020-12-29
预估到期
2030-04-07
| 申请号 | CN202020489414.6 |
| 申请日 | 2020-04-07 |
| 授权公布号 | CN212244164U |
| 授权公告日 | 2020-12-29 |
| 分类号 | B65C1/02;B65C9/02;B65C9/18;B65C9/40;B65C9/00;B08B1/00 |
| 分类 | 输送;包装;贮存;搬运薄的或细丝状材料; |
| 申请人名称 | 蚌埠市锐峰玻璃机械有限公司 |
| 申请人地址 | 安徽省蚌埠市龙子湖区胜利东路6号 |
专利法律状态
2020-12-29
授权
状态信息
授权
摘要
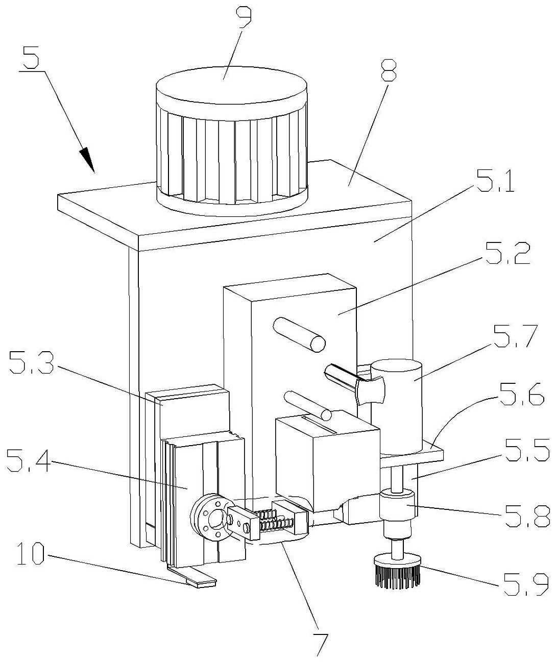
本实用新型公开了一种贴标装置,包括移动板,在移动板的侧面设置贴标机,在贴标机的一侧设置第一驱动件,第一驱动件驱动连接旋转气缸,在旋转气缸的转动盘上连接吸盘装置,吸盘装置与所述贴标机对应设置,在移动板的上方连接顶板,在顶板上设置第二驱动装置,第二驱动装置用于驱动所述移动板,在移动板的下方连接传感器。本实用新型的优点:本装置在贴标前能够通过洗刷装置对玻璃进行清洗,将玻璃上的灰尘进行清除,能够将标签贴紧。


