授权公布号:CN208200743U
一种双翻玻璃切割一体机
有效
申请
2018-03-30
申请公布
1970-01-01
授权
2018-12-07
预估到期
2028-03-30
| 申请号 | CN201820473251.5 |
| 申请日 | 2018-03-30 |
| 授权公布号 | CN208200743U |
| 授权公告日 | 2018-12-07 |
| 分类号 | C03B33/03;C03B33/02 |
| 分类 | 玻璃;矿棉或渣棉; |
| 申请人名称 | 蚌埠市锐峰玻璃机械有限公司 |
| 申请人地址 | 安徽省蚌埠市禹会区长青乡黄山村二组 |
专利法律状态
2018-12-07
授权
状态信息
授权
摘要
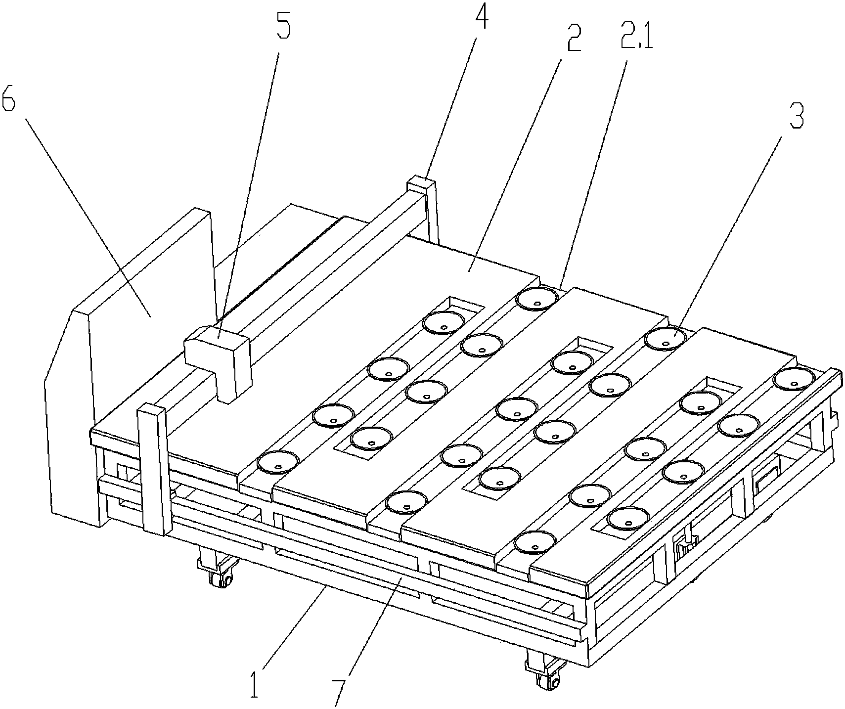
本实用新型涉及一种双翻玻璃切割一体机,包括机架,机架上方两侧分别设置一组U型槽,两组U型槽间隔错位布置,在所述机架的上侧设有支撑板,在所述支撑板上方两侧分别设有一组U型开口,两组U型槽与两组U型开口一一对应设置,在每个所述U型开口内均设有一个翻转板,在每个翻转板上均设有一组吸盘,每个所述吸盘均通过气管连接气源,在翻转板的下侧均设有翻转装置气。本实用新型的优点:本实用新型所提供的一种双翻玻璃切割一体机,实现了对玻璃的自动切割和装夹,且机架能够移动和转动,该一体机两侧均能够放置玻璃架,适用性强,无需大范围移动基架,提高了工作效率,该一体机的机架强度高、稳定性好,采用三层结构组合而成,合理利用机架空间。


