授权公布号:CN207091295U
玻璃切割机的气动装置
有效
申请
2017-08-09
申请公布
1970-01-01
授权
2018-03-13
预估到期
2027-08-09
| 申请号 | CN201720990155.3 |
| 申请日 | 2017-08-09 |
| 授权公布号 | CN207091295U |
| 授权公告日 | 2018-03-13 |
| 分类号 | C03B33/02 |
| 分类 | 玻璃;矿棉或渣棉; |
| 申请人名称 | 蚌埠市锐峰玻璃机械有限公司 |
| 申请人地址 | 安徽省蚌埠市禹会区长青乡黄山村二组 |
专利法律状态
2018-03-13
授权
状态信息
授权
摘要
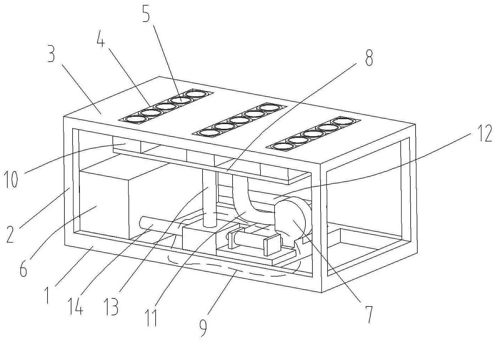
本实用新型涉及玻璃切割机的气动装置,包括玻璃切割机的底座,在底座的上侧通过一组立柱支撑连接台板,在台板上侧设有一组开口,在每个开口内均设有一组玻璃吸盘,在每个开口下侧均通过连接件配合连接储气腔体,每个玻璃吸盘均通过相应的吸气支管与储气腔体贯通连接,在底座上方还设有抽风机,抽风机的吸气接口通过吸气主管与储气腔体相通连接,抽风机的出气接口通过出气管连接集气箱,在底座上方还设有充气阀,充气阀通过充气管与所述储气腔体相通连接。本实用新型的优点在于:本装置采用一个风机控制整个装置的出风和吸风,实现对平板玻璃的固片和取片,其管路少,结构简单,走线简单,装配方便,方便实现自动化生产。


