授权公布号:CN211314510U
一种应用在真空泵上的负压排水器
有效
申请
2019-12-11
申请公布
1970-01-01
授权
2020-08-21
预估到期
2029-12-11
| 申请号 | CN201922214871.4 |
| 申请日 | 2019-12-11 |
| 授权公布号 | CN211314510U |
| 授权公告日 | 2020-08-21 |
| 分类号 | F04B39/16;F04B37/14 |
| 分类 | 液体变容式机械;液体泵或弹性流体泵; |
| 申请人名称 | 湖北举仁机械有限公司 |
| 申请人地址 | 湖北省襄阳市高新区鏖战岗路8号 |
专利法律状态
2020-08-21
授权
状态信息
授权
摘要
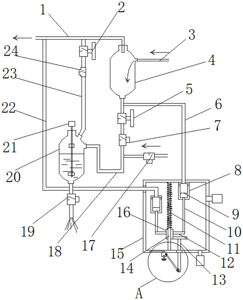
本实用新型公开了一种应用在真空泵上的负压排水器,属于排水器领域,包括上容器、下容器和箱体,下容器位于上容器的下方一侧,箱体位于上容器下方另一侧,上容器的侧壁上与其顶部分别设有第一进气口和第一出气口,上容器的底部连接有第一连接管,第一连接管的另一端与下容器的内部连通,第一连接管上设有第一电磁阀,第一连接管的侧壁上设有水平方向的进气管,进气管位于第一电磁阀的下方位置,进气管上设有第二电磁阀;该装置在负压环境中可自动排水,可自动复位,无需停止负压,且当任意电磁阀发生故障时,可立刻停止自动排水装置转而开启手动排水装置进行过渡,保证自动排水装置发生故障后真空泵可正常使用。


