授权公布号:CN209759304U
一种用于平板玻璃的切割装置
有效
申请
2019-01-15
申请公布
1970-01-01
授权
2019-12-10
预估到期
2029-01-15
| 申请号 | CN201920063612.3 |
| 申请日 | 2019-01-15 |
| 授权公布号 | CN209759304U |
| 授权公告日 | 2019-12-10 |
| 分类号 | C03B33/03 |
| 分类 | 玻璃;矿棉或渣棉; |
| 申请人名称 | 安徽瑞龙玻璃机械股份有限公司 |
| 申请人地址 | 安徽省蚌埠市禹会区胜利西路1750号汇能小微企业创业中心创业大厦316号 |
专利法律状态
2020-05-12
专利权人的姓名或者名称、地址的变更
状态信息
专利权人的姓名或者名称、地址的变更 IPC(主分类):C03B33/03 变更前专利权人:安徽瑞龙玻璃机械股份有限公司 变更前地址:233000 安徽省蚌埠市老山村小区1栋三楼302室 变更后专利权人:安徽瑞龙玻璃机械股份有限公司 变更后地址:233000 安徽省蚌埠市龙子湖区胜利东路9号
2020-05-05
专利申请权、专利权的转移
状态信息
专利权的转移 IPC(主分类):C03B33/03 登记生效日:20200415 变更前专利权人:蚌埠市鼎荣科技信息咨询有限公司 变更前地址:233000 安徽省蚌埠市禹会区胜利西路1750号汇能小微企业创业中心创业大厦316号 变更后专利权人:安徽瑞龙玻璃机械股份有限公司 变更后地址:233000 安徽省蚌埠市老山村小区1栋三楼302室
2019-12-10
授权
状态信息
授权
摘要
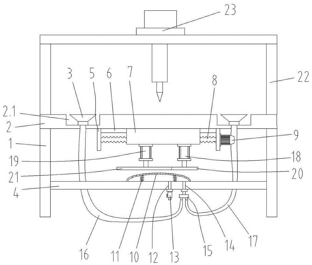
本实用新型公开了一种用于平板玻璃的切割装置,包括工作台,工作台包括平板,平板下侧通过支撑柱支撑固定,在平板上侧对称设有两个凹槽,每个凹槽内均装有一组玻璃吸盘,平板下方设有固定板,固定板与支撑柱固定连接,在固定板上侧设有橡胶密封布,橡胶密封布四周边缘密封粘结在固定板上表面,橡胶密封布与固定板之间形成密封的空腔,空腔内装有两个弹簧,在橡胶密封布上方还设有压紧装置,压紧装置用于将所述空腔压扁。本实用新型的优点:本实用新型适合加工厚度在0.3~1.2mm之间的平板玻璃,在将玻璃吸附在工作台上时,通过改变储气空腔的容积来实现玻璃吸盘对玻璃产生吸附力的大小,吸附稳定,不会造成平板玻璃弯曲变形。


