授权公布号:CN209754954U
一种用于平板玻璃的吸附装置
有效
申请
2019-01-15
申请公布
1970-01-01
授权
2019-12-10
预估到期
2029-01-15
| 申请号 | CN201920062925.7 |
| 申请日 | 2019-01-15 |
| 授权公布号 | CN209754954U |
| 授权公告日 | 2019-12-10 |
| 分类号 | B25B11/00 |
| 分类 | 手动工具;轻便机动工具;手动器械的手柄;车间设备;机械手; |
| 申请人名称 | 安徽瑞龙玻璃机械股份有限公司 |
| 申请人地址 | 安徽省蚌埠市龙子湖区胜利东路9号 |
专利法律状态
2020-05-08
专利权人的姓名或者名称、地址的变更
状态信息
专利权人的姓名或者名称、地址的变更;IPC(主分类):B25B 11/00;专利号:ZL2019200629257;变更事项:专利权人;变更前:安徽瑞龙玻璃机械股份有限公司;变更后:安徽瑞龙玻璃机械股份有限公司;变更事项:地址;变更前:233000 安徽省蚌埠市老山村小区1栋三楼302室;变更后:233000 安徽省蚌埠市龙子湖区胜利东路9号
2020-04-24
专利申请权、专利权的转移
状态信息
专利权的转移;IPC(主分类):B25B 11/00;专利号:ZL2019200629257;登记生效日:20200407;变更事项:专利权人;变更前权利人:蚌埠市鼎荣科技信息咨询有限公司;变更后权利人:安徽瑞龙玻璃机械股份有限公司;变更事项:地址;变更前权利人:233000 安徽省蚌埠市禹会区胜利西路1750号汇能小微企业创业中心创业大厦316号;变更后权利人:233000 安徽省蚌埠市老山村小区1栋三楼302室
2019-12-10
实用新型专利权授予
状态信息
授权
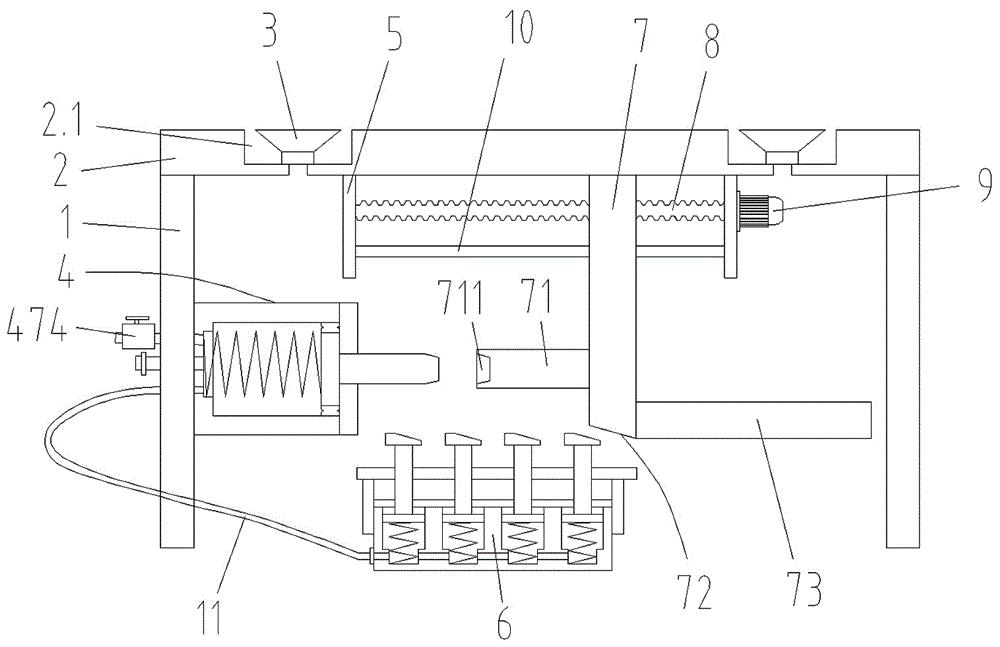
摘要
本实用新型公开了一种用于平板玻璃的吸附装置,包括平板,在平板上侧对称设有两个凹槽,在每个凹槽内均装有一组玻璃吸盘,还包括主气源装置,主气源装置包括水平设置的桶体,在桶体内滑动配合连接活塞板,活塞板一侧固定连接活塞杆,在活塞板与桶体的底部之间设有第一弹簧还包括导杆,导杆上滑动配合连接滑块,滑块一侧固定连接水平设置的推柱。本实用新型的优点:本实用新型能够通过改变气孔、桶体的容积大小来改变玻璃吸盘的吸附力的大小,通过气孔与桶体的容积能够计算出吸附力的大小,根据滑块进给量与气孔与桶体的容积的该变量,在导杆上表上刻度,吸附稳定,不会造成平板玻璃弯曲变形,适应于吸附不同厚度的平板玻璃。


