授权公布号:CN214778124U
一种食用菌液体菌种出料口保护装置
有效
申请
2021-03-17
申请公布
1970-01-01
授权
2021-11-19
预估到期
2031-03-17
| 申请号 | CN202120550254.6 |
| 申请日 | 2021-03-17 |
| 授权公布号 | CN214778124U |
| 授权公告日 | 2021-11-19 |
| 分类号 | B65D88/64 |
| 分类 | 输送;包装;贮存;搬运薄的或细丝状材料; |
| 申请人名称 | 中山园仔山菌业股份有限公司 |
| 申请人地址 | 广东省中山市南区恒美村园山仔水塘尾A5 |
专利法律状态
2021-11-19
授权
状态信息
授权
摘要
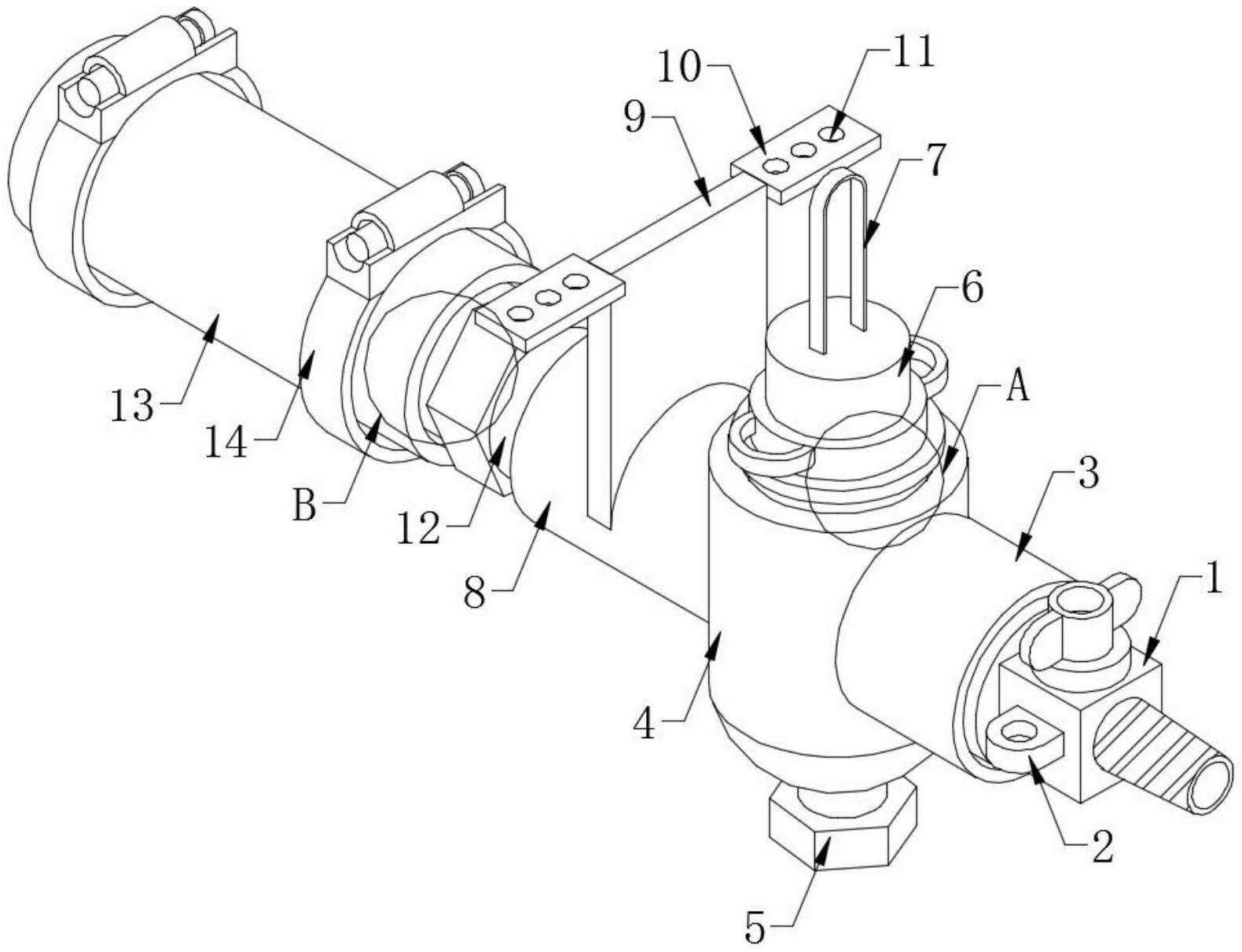
本实用新型公开了一种食用菌液体菌种出料口保护装置,包括控制阀,控制阀外壁的一侧与第一连接管内壁的一侧螺纹连接,第一连接管的一端与防堵斗一侧的中部固定连通,防堵斗底端的中部开设的疏通螺孔与疏通栓的外壁螺纹连接。本实用新型通过控制阀连接的第一连接管与防堵斗连通,防堵斗开设的疏通螺孔与疏通栓螺纹连接,防堵斗连接的螺纹柱与连接柱连接,连接柱与疏通件连接,可是该保护装置具有防堵功能,可避免装置排放液体菌种时内部出现堵塞的问题,防堵斗对液体菌种的预存可避免液体菌种的堵塞,同时连接柱;连接的疏通件与疏通栓配合,可对防堵斗内定期疏通,保证液体菌种的正常排放,方便人员对食用菌的接种。


