授权公布号:CN216110169U
一种机械式防断电门禁锁
有效
申请
2021-07-21
申请公布
1970-01-01
授权
2022-03-22
预估到期
2031-07-21
| 申请号 | CN202121657330.X |
| 申请日 | 2021-07-21 |
| 授权公布号 | CN216110169U |
| 授权公告日 | 2022-03-22 |
| 分类号 | E05B47/00;E05B47/02 |
| 分类 | 锁;钥匙;门窗零件;保险箱; |
| 申请人名称 | 上海祖程电子科技有限公司 |
| 申请人地址 | 上海市松江区小昆山镇港业路158弄2号D115幢 |
专利法律状态
2022-03-22
授权
状态信息
授权
摘要
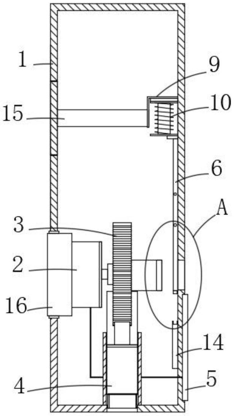
本实用新型公开了一种机械式防断电门禁锁,包括壳体与转动电机,壳体上固定安装有转动电机,转动电机的输出轴上固定连接有齿轮,齿轮的内部一端螺纹安装有锁芯,壳体的侧面开设有钥匙孔,壳体的内部竖直滑动安装有封板。电磁铁处于通电状态,则对封板与吸附板进行吸附,被吸附提起的封板位于锁芯与钥匙孔之中,遮挡部对钥匙孔进行遮挡从而无法通过钥匙打开门禁锁;封板通过滑动柱在壳体中上下滑动,从而可轻松容易的被电磁铁进行上下吸附,于此同时电磁铁设置为硅钢电磁铁,在断电后电磁铁的磁性消失较快,从而避免常规的电磁铁断电后仍然具有一定的磁性,从而导致本装置在断电后封板仍然不能下落进而影响使用。


