授权公布号:CN212201648U
一种具有紧急情况下应急开启结构的钥匙门禁锁
有效
申请
2020-04-28
申请公布
1970-01-01
授权
2020-12-22
预估到期
2030-04-28
| 申请号 | CN202020678214.5 |
| 申请日 | 2020-04-28 |
| 授权公布号 | CN212201648U |
| 授权公告日 | 2020-12-22 |
| 分类号 | E05B47/00 |
| 分类 | 锁;钥匙;门窗零件;保险箱; |
| 申请人名称 | 上海祖程电子科技有限公司 |
| 申请人地址 | 上海市松江区小昆山镇港业路158弄2号D115幢 |
专利法律状态
2020-12-22
授权
状态信息
授权
摘要
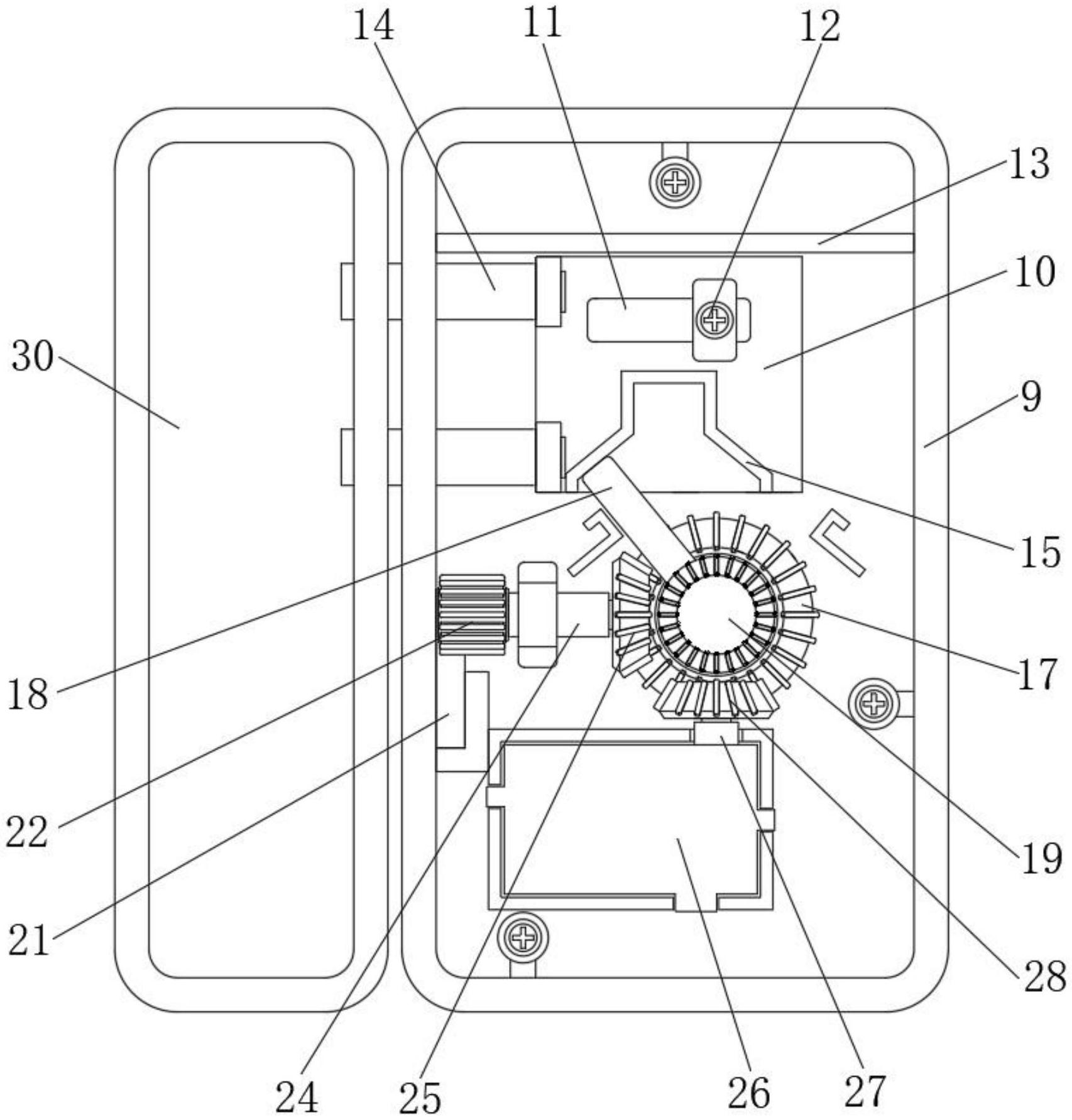
本实用新型公开了一种具有紧急情况下应急开启结构的钥匙门禁锁,包括第一锁体、钥匙锁、控制盒和伺服电机,所述第一锁体的正面铰接有活动门,且活动门与第一锁体之间固定安装有钥匙锁,所述第一锁体的内部开设有钥匙槽,且钥匙槽的内部镶嵌有应急钥匙,所述钥匙槽的侧边固定安装有套筒,且套筒的内部插设有插杆,所述插杆的外侧套设有弹簧,所述第一锁体的背面设置有第二锁体。本实用新型通过设置应急钥匙上装配的齿牙与第一齿轮外侧装配的齿牙相适配,使得该装置在意外锁死情况下,通过应急钥匙插入钥匙口内部使得拨杆转动,从而将锁杆收入第二锁体内部,有利于使得该装置在意外锁死状态下打开,有利于避免暴力拆除带来的不良影响。


