授权公布号:CN220428616U
一种密封条打孔工位
有效
申请
2023-07-28
申请公布
1970-01-01
授权
2024-02-02
预估到期
2033-07-28
| 申请号 | CN202322009138.5 |
| 申请日 | 2023-07-28 |
| 授权公布号 | CN220428616U |
| 授权公告日 | 2024-02-02 |
| 分类号 | B26F1/02;B26D7/02;B21D28/24;B21D28/04 |
| 分类 | 手动切割工具;切割;切断; |
| 申请人名称 | 河北佐佑众工合成材料制品有限公司 |
| 申请人地址 | 河北省邢台市清河县羊绒园区挥公大道南侧 |
专利法律状态
2024-02-02
授权
状态信息
授权
摘要
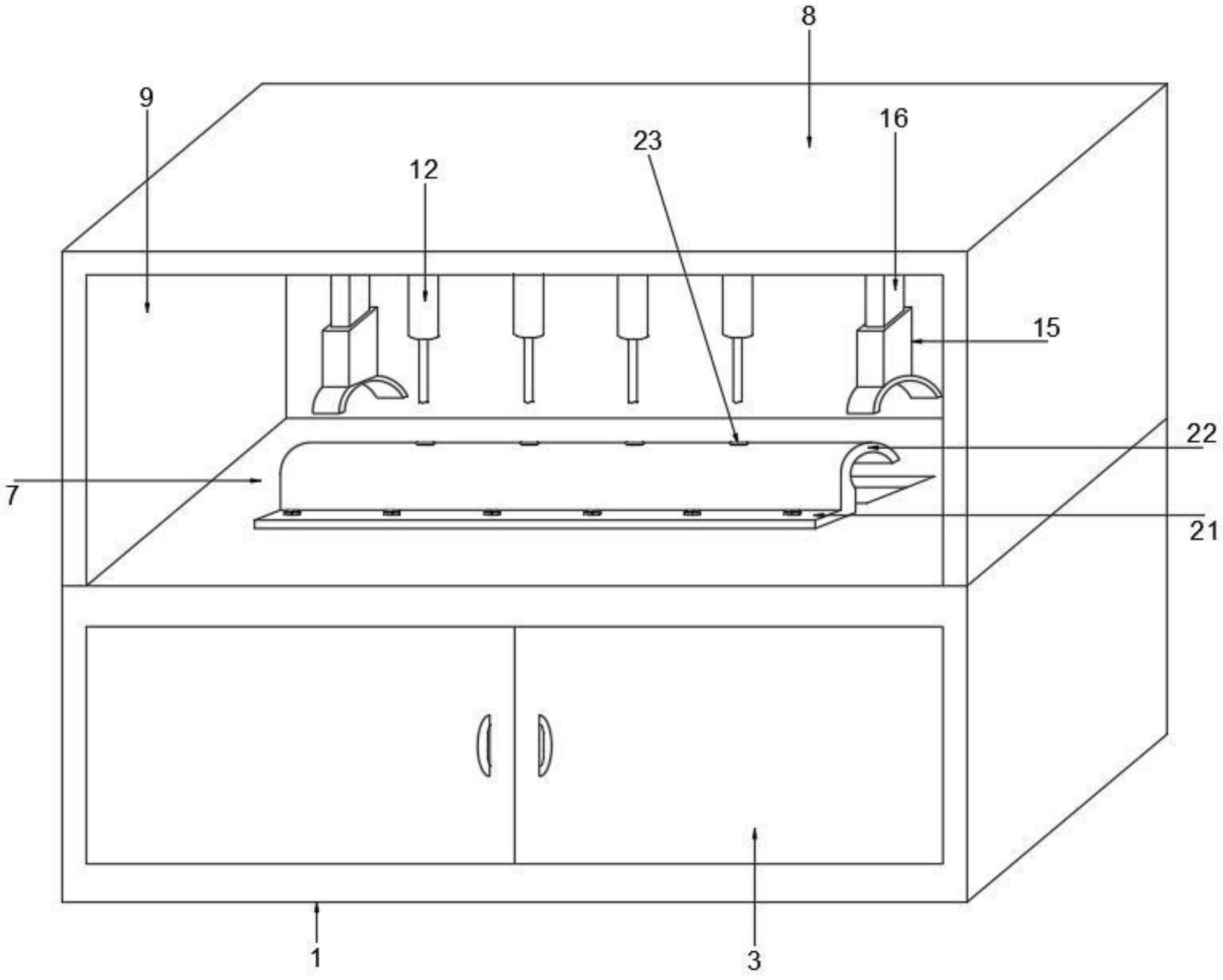
本实用新型公开了一种密封条打孔工位,包括加工台,加工台内设有空腔,加工台上且位于空腔前面设有防护门,加工台上面设有条孔,空腔内且位于条孔下侧倾斜设有导料板,空腔内且位于导料板下端设有集废盒,集废盒固定在空腔两侧壁上,加工台上设有打孔模具,加工台面设有罩体,罩体前面设有开口,罩体下面设有的第一电推杆,第一电推杆下端设有升降板,升降板上均匀分布有若干个打孔机,罩体内且位于升降板两侧均设有第二电推杆,第二电推杆下面设有压紧机构,本实用新型的优点:定位精准、操作方便,便于废料的收集,提高密封条的保护能力。


