授权公布号:CN210759086U
一种XPS异型材的压模模具的调节底座
有效
申请
2019-07-19
申请公布
1970-01-01
授权
2020-06-16
预估到期
2029-07-19
| 申请号 | CN201921150094.5 |
| 申请日 | 2019-07-19 |
| 授权公布号 | CN210759086U |
| 授权公告日 | 2020-06-16 |
| 分类号 | B29C48/25;B29C45/17 |
| 分类 | 塑料的加工;一般处于塑性状态物质的加工; |
| 申请人名称 | 南京法宁格节能科技股份有限公司 |
| 申请人地址 | 江苏省南京市江宁区汤山工业集中区 |
专利法律状态
2020-06-16
授权
状态信息
授权
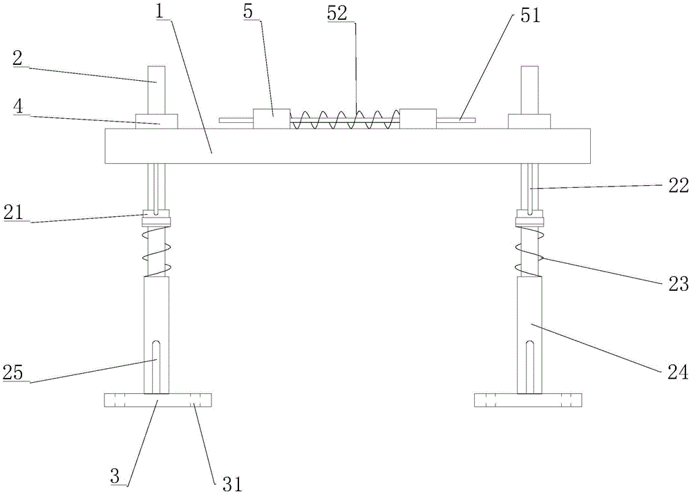
摘要
本实用新型涉及XPS异型材的制备领域,公开了一种XPS异型材的压模模具的调节底座,解决了传统生产中,模具位置不能调节,一旦调节,则设备拆装范围大,费时费力的弊端,其技术方案要点是包括支撑台板和两个支撑柱,所述支撑台板的两端分别贯穿设有通孔,所述支撑柱的顶端穿过所述通孔并螺纹套接有调节螺母,所述支撑柱的底端固定设有固定板,所述固定板均匀贯穿设有若干固定孔,所述支撑柱外侧套设有压缩弹簧,所述支撑台板的底部和所述固定板的顶部之间弹性支撑有所述压缩弹簧,能够调节压模模具的位置高度,无需替换整体底座,减少拆装步骤,方便调节使用。


