授权公布号:CN214107349U
一种岩棉废料的粉碎回收再利用装置
有效
申请
2020-11-10
申请公布
1970-01-01
授权
2021-09-03
预估到期
2030-11-10
| 申请号 | CN202022583126.X |
| 申请日 | 2020-11-10 |
| 授权公布号 | CN214107349U |
| 授权公告日 | 2021-09-03 |
| 分类号 | B02C19/22;B02C23/02;B02C23/16 |
| 分类 | 破碎、磨粉或粉碎;谷物碾磨的预处理; |
| 申请人名称 | 南京彤天岩棉有限公司 |
| 申请人地址 | 江苏省南京市六合经济开发区时代大道 |
专利法律状态
2021-09-03
授权
状态信息
授权
摘要
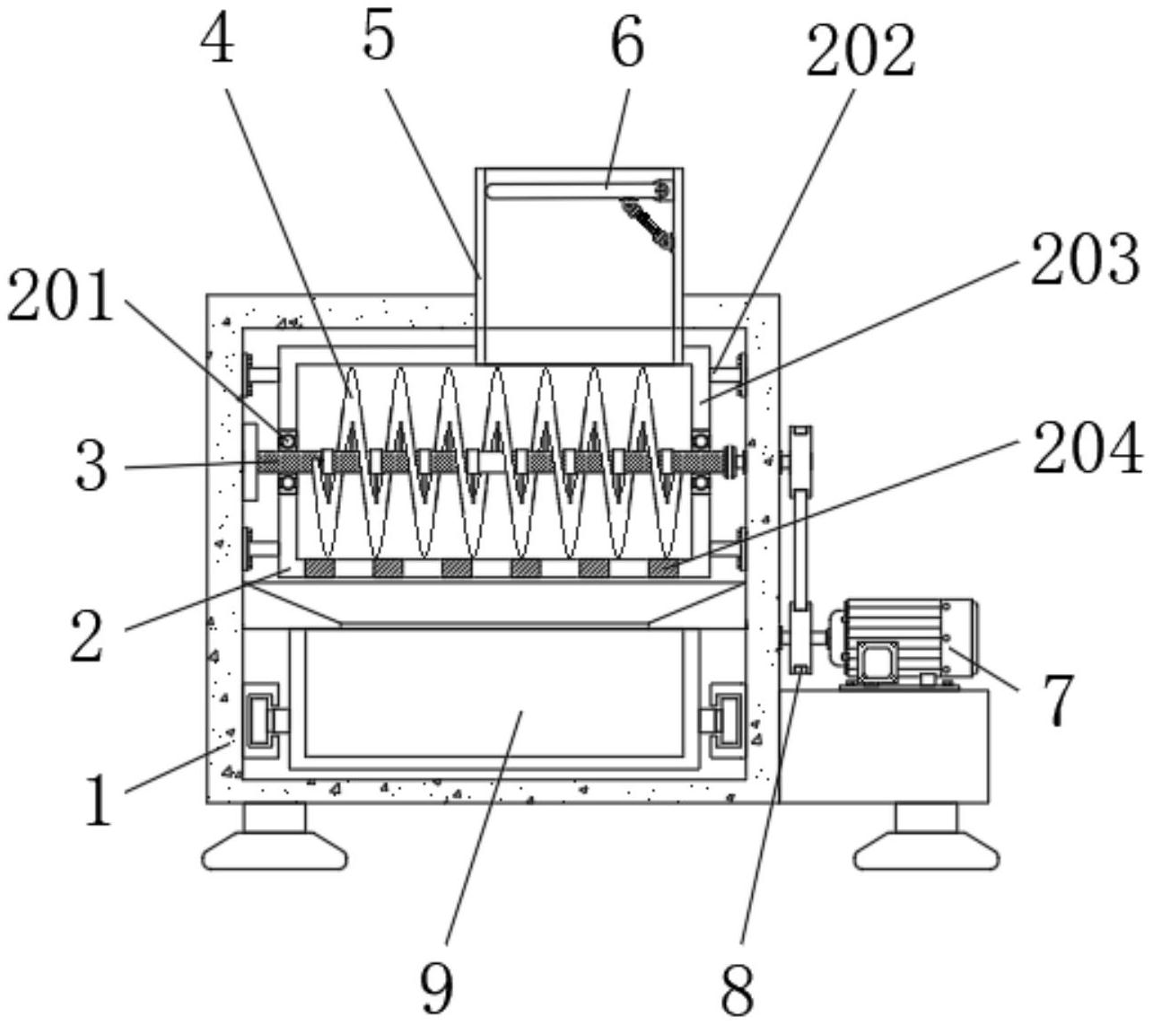
本实用新型公开了一种岩棉废料的粉碎回收再利用装置,包括主体、转轴、切割片和伺服电机,所述主体的内壁设置有转轴,所述主体内部的底端设置有收集结构,所述过滤结构包括轴承、连接杆、粉碎罐和孔隙,所述粉碎罐设置在主体的内部,所述粉碎罐的两侧均固定连接有轴承,所述粉碎罐的两侧设置有轴承,所述粉碎罐的底端设置有孔隙。本实用新型使用转轴转动切割片对粉碎罐内部的岩棉废料进行粉碎,使用连接杆对粉碎罐进行固定防止粉碎罐与切割片接触,轴承降低连接杆对转轴的摩擦,粉碎后的粉末经过孔隙排出,大型颗粒无法经过孔隙排出,由此实现了此装置的粉碎功能,使装置便于对岩棉废料进行回收处理,增强了装置的实用性。


