授权公布号:CN216655349U
一种岩棉成纤固态颗粒物含量控制用风选装置
有效
申请
2021-12-29
申请公布
1970-01-01
授权
2022-06-03
预估到期
2031-12-29
| 申请号 | CN202123370849.2 |
| 申请日 | 2021-12-29 |
| 授权公布号 | CN216655349U |
| 授权公告日 | 2022-06-03 |
| 分类号 | B07B11/06;B07B1/04;B07B1/46 |
| 分类 | 将固体从固体中分离;分选; |
| 申请人名称 | 南京彤天岩棉有限公司 |
| 申请人地址 | 江苏省南京市六合区经济开发区时代大道 |
专利法律状态
2022-06-03
授权
状态信息
授权
摘要
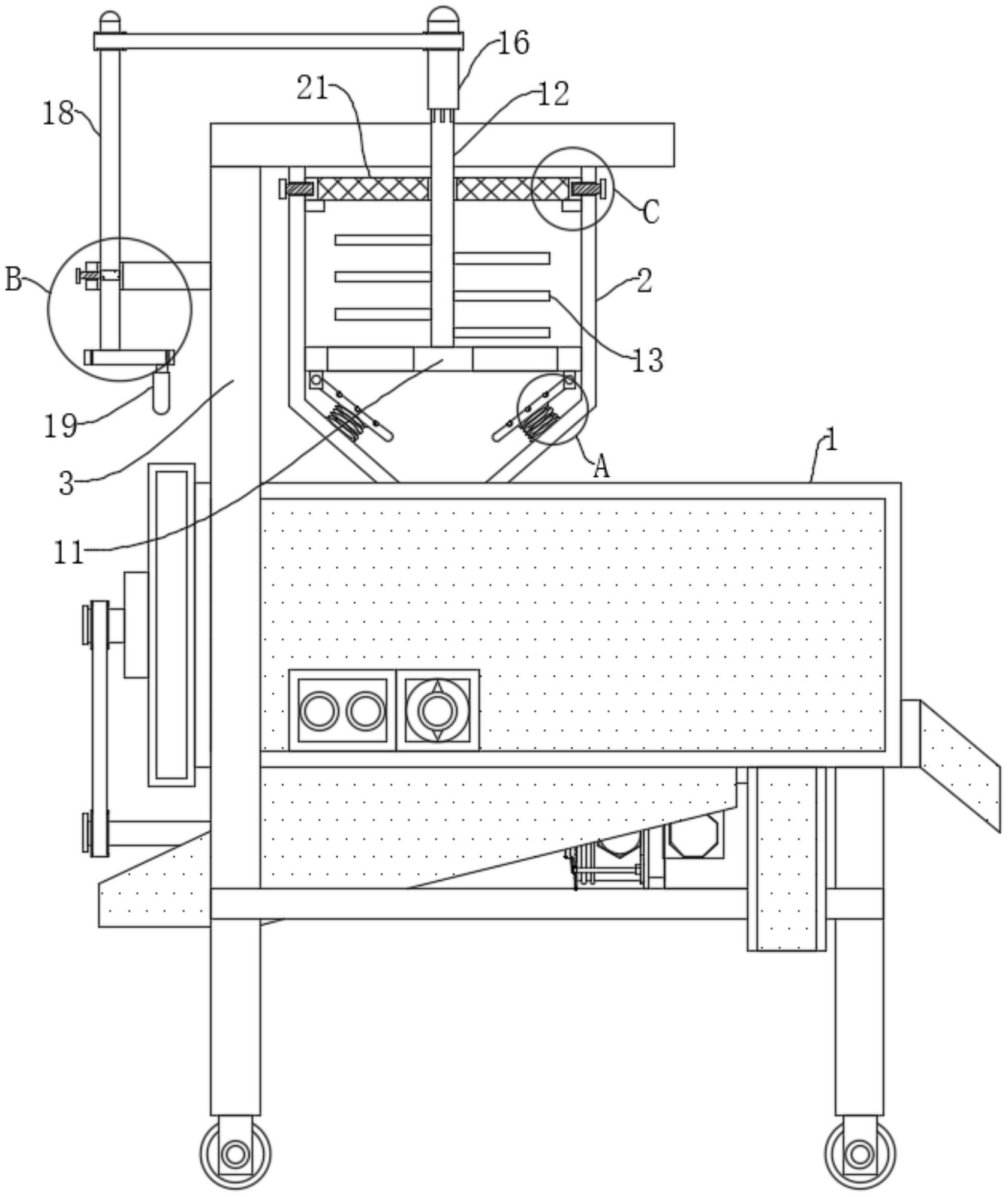
本实用新型涉及风选装置技术领域,具体为一种岩棉成纤固态颗粒物含量控制用风选装置,包括设备主体,所述设备主体顶端安装有进料腔,且设备主体和进料腔之间设置有支架,防堵组件,所述防堵组件位于进料腔内壁,且防堵组件包括连板,所述连板安装在进料腔内壁,且连板两侧内壁皆开设有通道,所述连板顶端中部通过轴承活动连接有转杆,且转杆外壁等距离固定有搅拌叶,所述连板底端两侧皆通过转轴活动连接有导向板,且导向板与进料腔内壁之间皆焊接有弹簧。本实用新型使得原料有序的进入设备主体内进行风选,从而有效的解决现有的原料直接投入进料腔进入设备主体时,容易造成进料不均匀,产生堵塞的问题。


