授权公布号:CN213803529U
一种用熔融高炉渣生产岩棉装置
有效
申请
2020-11-12
申请公布
1970-01-01
授权
2021-07-27
预估到期
2030-11-12
| 申请号 | CN202022613131.0 |
| 申请日 | 2020-11-12 |
| 授权公布号 | CN213803529U |
| 授权公告日 | 2021-07-27 |
| 分类号 | C03C13/06;C03B37/00 |
| 分类 | 玻璃;矿棉或渣棉; |
| 申请人名称 | 南京彤天岩棉有限公司 |
| 申请人地址 | 江苏省南京市六合经济开发区时代大道 |
专利法律状态
2021-07-27
授权
状态信息
授权
2020-11-12
公布
状态信息
公布
摘要
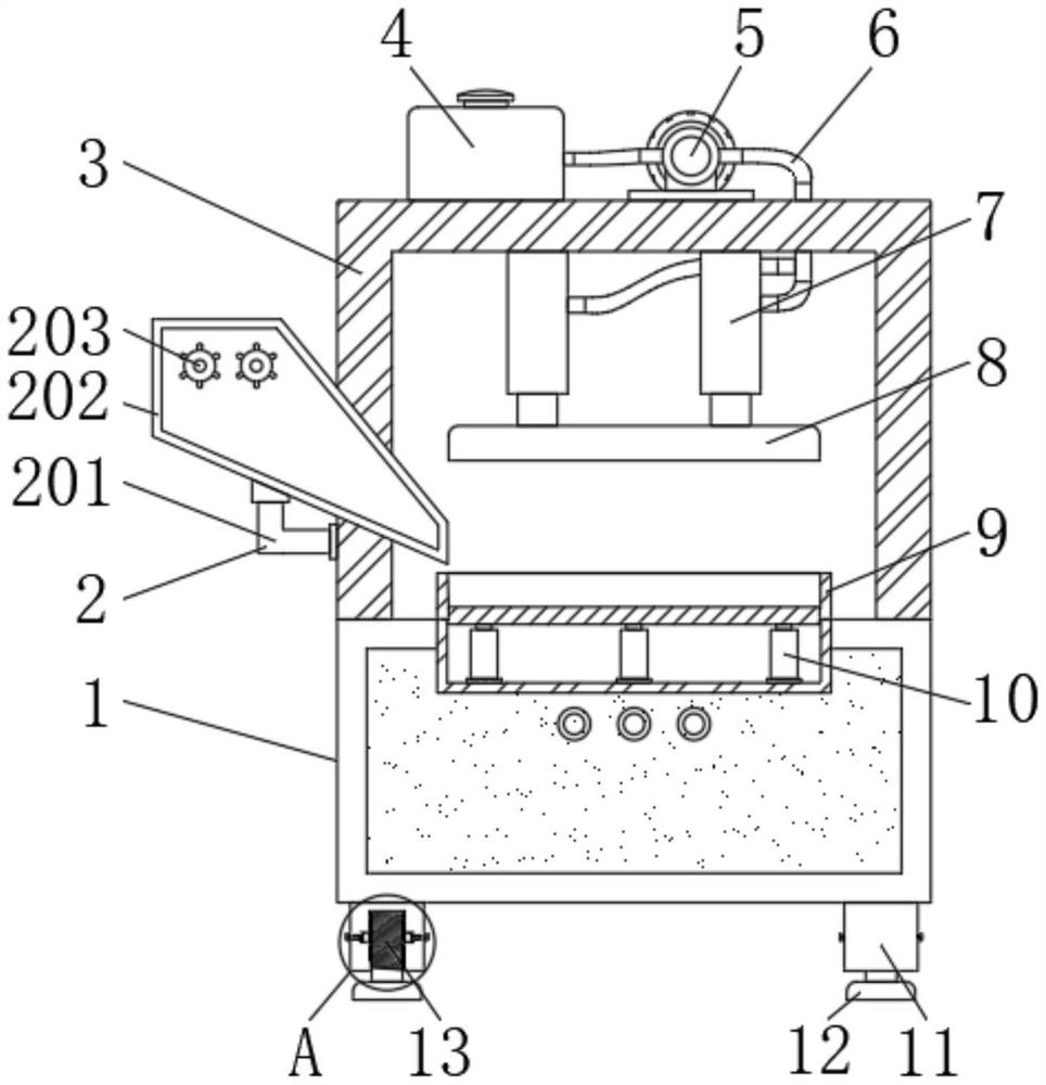
本实用新型公开了一种用熔融高炉渣生产岩棉装置,包括柜体、固定架、油缸和增压泵,所述柜体的顶端固定有固定架,所述放置槽均设置于固定套内部的两侧,所述固定螺纹均设置于固定套内部的两侧。本实用新型通过设置有调节结构实现了便于调节装置的高度,当需要对装置进行调整高度时,顺时针拧动支撑脚,支撑脚带动螺纹柱进行转动,螺纹柱因固定螺纹的作用从固定套的内部旋出,当调整好伸出的长度后对螺纹柱进行固定,将两侧的固定螺母向内部转动,固定螺母与放置槽配合使固定推块向前推动螺纹柱,两侧的夹持使螺纹柱与固定套之间固定住,进而固定套与支撑脚之间也固定住,从而提高了使用的多样性。


