授权公布号:CN204826353U
一种免拆建筑节能楼板
有效
申请
2015-08-18
申请公布
1970-01-01
授权
2015-12-02
预估到期
2025-08-18
| 申请号 | CN201520623612.6 |
| 申请日 | 2015-08-18 |
| 授权公布号 | CN204826353U |
| 授权公告日 | 2015-12-02 |
| 分类号 | E04B5/36;E04B5/48 |
| 分类 | 建筑物; |
| 申请人名称 | 浙江科达新型建材有限公司 |
| 申请人地址 | 浙江省绍兴市嵊州市甘霖工业区浙江科达新型建材有限公司 |
专利法律状态
2015-12-02
授权
状态信息
授权
摘要
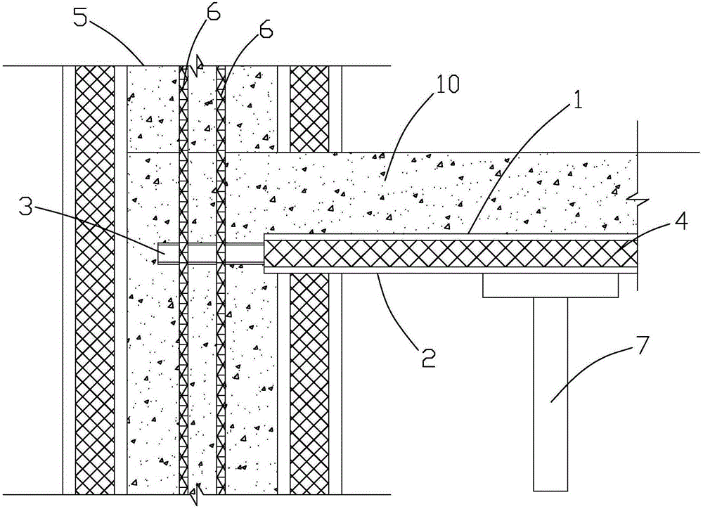
本实用新型公开了一种免拆建筑节能楼板,包括上定位架板和下定位架板,上定位架板与下定位架板之间均匀分布有四根“C”型钢,“C”型钢的上下两个侧面分别通过螺栓连接上定位架板和下定位架板,中间的两个“C”型钢通过钢筋固定连接在主梁柱内,上定位架板与下定位架板之间形成一个空腔,空腔内嵌有保温材料,相邻的两个楼板之间设置有管道。本实用新型结构简单,操作便捷,实用性强,不仅缩短了楼层面板的施工工期,降低劳动强度,而且提高了现浇混凝土楼面层的质量,并且具有节能、免拆功能,经济效益显著。


