授权公布号:CN207029818U
一种聚氨酯外墙保温一体化板的储存装置
有效
申请
2017-08-15
申请公布
1970-01-01
授权
2018-02-23
预估到期
2027-08-15
| 申请号 | CN201721016644.5 |
| 申请日 | 2017-08-15 |
| 授权公布号 | CN207029818U |
| 授权公告日 | 2018-02-23 |
| 分类号 | B65D6/08;B65D25/10 |
| 分类 | 输送;包装;贮存;搬运薄的或细丝状材料; |
| 申请人名称 | 浙江科达新型建材有限公司 |
| 申请人地址 | 浙江省绍兴市嵊州市甘霖工业区浙江科达新型建材有限公司 |
专利法律状态
2018-02-23
授权
状态信息
授权
摘要
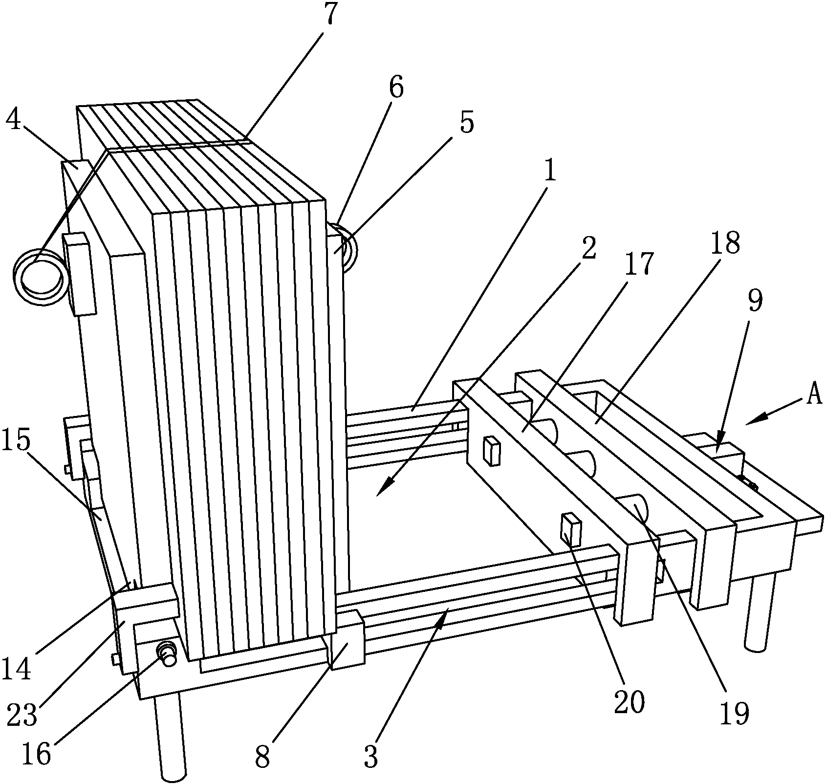
本实用新型主要公开了一种聚氨酯外墙保温一体化板的储存装置,包括放置平台和挡板,放置平台上设置有嵌位槽,放置平台的前后两侧均设置有移动滑槽,挡板包括旋转挡板和滑动挡板,旋转挡板和滑动挡板的相反面上均设置有连接吊耳,两个连接吊耳之间通过牵引绳相连接,旋转挡板与放置平台的左端铰接,滑动挡板位于嵌位槽内,滑动挡板的前后两端均设置有嵌位滑块,放置平台的右端设置有压紧装置,放置平台的左端设置有卡箍装置,卡箍装置与旋转挡板卡接固定。本实用新型结构简单,设计合理,便于外墙保温一体化板的放置和储存,相对于将外墙保温一体化板直接放置在地面上的设计,不仅可以便于外墙保温一体化板的统一管理,而且又可以降低资源的浪费。


